Published: 11-May-2011

2007.0 Range Rover Sport (LS), 501-29

Side Panel Sheet Metal Repairs

A-Pillar Outer Panel (G458148)

REMOVAL AND INSTALLATION
Removal
  1. Disconnect both battery cables. For additional information, refer to: Specifications (414-00 Battery and Charging System - General Information, Specifications).
  2. Remove the instrument panel. For additional information, refer to: (501-12 Instrument Panel and Console)
    Instrument Panel - TDV6 2.7L Diesel (Removal and Installation),
    Instrument Panel - TDV8 3.6L Diesel (Removal and Installation),
    Instrument Panel - TDV6 2.7L Diesel (Removal and Installation).
  3. Remove the windshield glass. For additional information, refer to: Windshield (501-11 Glass, Frames and Mechanisms, Removal and Installation).
  4. Remove the hood pad.
  5. Remove the hood wiring harness.
  6. Remove the hood.
  7. Remove the front fender. For additional information, refer to: Fender (501-02 Front End Body Panels, Removal and Installation).
  8. L/H side: Remove the battery junction box. For additional information, refer to: (418-00 Module Communications Network)
    Battery Junction Box - 2.7L V6 - TdV6 (Removal and Installation),
    Battery Junction Box - V8 N/A 4.4L Petrol (Removal and Installation),
    Battery Junction Box - V8 S/C 4.2L Petrol (Removal and Installation).
  9. R/H side: Remove the ABS modulator. For additional information, refer to: Anti-Lock Brake System Control Module (206-09A Anti-Lock Control - Traction Control, Removal and Installation).
  10. R/H side: Remove the accelerator pedal. For additional information, refer to: (310-02D Acceleration Control - TDV8 3.6L Diesel)
    Accelerator Pedal (Removal and Installation),
    Accelerator Pedal (Removal and Installation),
    Accelerator Pedal (Removal and Installation).
  11. R/H side: Remove the brake booster. For additional information, refer to: Brake Booster (206-07 Power Brake Actuation, Removal and Installation).
  12. E51196
    Remove the front door check strap from the A-pillar.
  13. E51197
    Remove the front door assembly.
      • Disconnect the electrical connector
      • Release the wiring harness grommet
      • Release the wiring harness retaining clip
      • Remove the 2 bolts
  14. Remove the insulation from the outer and inner bulkhead.
  15. Remove the front and rear door weatherstrips.
  16. Remove the cowl side trim panel. For additional information, refer to: Cowl Side Trim Panel (501-05 Interior Trim and Ornamentation, Removal and Installation).
  17. Release the A-Pillar wiring harness.
  18. Remove the footrest.
  19. Remove the front seat. For additional information, refer to: Front Seat (501-10 Seating, Removal and Installation).
  20. Remove the front safety belt retractor. For additional information, refer to: Front Safety Belt Retractor (501-20A Safety Belt System, Removal and Installation).
  21. Remove the rocker panel outer trim.
  22. Release the front carpet.
  23. E63566
    If the panel is not cut exactly where specified in the graphic, then it may be necessary to weld the A-pillar outer panel to a boron inner panel. For specific information regarding the welding of boron steel, refer to general information, body repairs. For additional information, refer to: Body Repairs (501-25A Body Repairs - General Information -, Description and Operation).
     
    ItemDescription
    ACut line 380 mm (14.96 inches).
    1Butt weld.
    242 spot welds.
    3Butt weld.
    48 spot welds.
    527 spot welds.
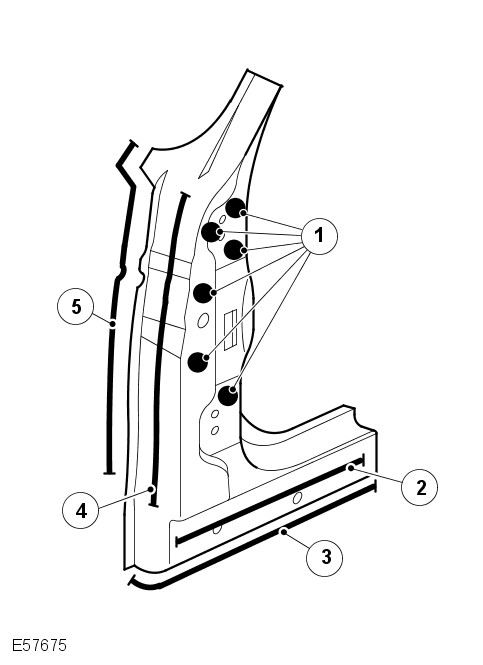
  24. E57675
     
    ItemDescription
    16 plug welds.
    24 plug welds.
    312 plug welds.
    410 plug welds.
    513 plug welds.
  25. E57676
     
    ItemDescription
    1Areas of adhesive.
    2Acoustic seal.
  26. For additional information:
      • Welding. For additional information, refer to: Body Repairs (501-25A Body Repairs - General Information -, Description and Operation).
      • Corrosion protection. For additional information, refer to: Corrosion Protection (501-25B Body Repairs - Corrosion Protection -, Description and Operation).
      • Tolerance checks. For additional information, refer to: Body and Frame (501-26 Body Repairs - Vehicle Specific Information and Tolerance Checks, Description and Operation).
Installation
  1. Install is the reverse of removal.