Published: 23-Apr-2015

2007.0 Range Rover Sport (LS), 501-25B

Body Repairs - Corrosion Protection -

Corrosion Protection (G453183)

DESCRIPTION AND OPERATION

General

The corrosion protection provided in production must be carefully maintained and/or reproduced during and after body repair work. It is only then that the long-term warranty against penetrative corrosion damage can be assured.

Only Land Rover original bodywork components and Land Rover approved repair materials (sealer, paint etc.) are to be used for bodywork repairs.

Land Rover Original Parts
E56172

All Land Rover bodywork components have a cathodic base coating. Individual bodywork components are zinc plated on one or both sides (in different areas depending on vehicle model).

Together with elastic paint coating, this guarantees an optimum, highly resistant protection against corrosion caused by the impact of small objects such as gravel.

NOTE:

If possible, the individual protective layers (zinc, cathodic base coat) on Land Rover bodywork components must not be damaged or destroyed by sanding or other mechanical operations.

If hairline cracks at "bodywork connection areas" appear after reshaping work (e.g. at door hinges), it must be ensured that the corrosion protection provided in production is recreated. The complete paint covering must be re-created if necessary. The same applies to reshaping work on heavily profiled bodywork components (e.g. floor pan). Renew or touch-up the paint coating, sealing beads and underbody protection as necessary.

After repair, any interior surfaces which are no longer visible or accessible must be primed before cavity wax is applied. To be certain of an even coating on inner surfaces, careful application of spray (twice, with drying time in-between) must be carried out throughout the whole cavity.

If bodywork panels are strongly heated during repair work, this will invariably result in damage to or even destruction of the applied corrosion protection material. The effectiveness of the cavity protection material is reduced if heating occurs. Reworking of the affected areas is therefore vital.

Welded areas should be made good before corrosion protection is applied.

The corrosion protection measures to be taken when bodywork components are renewed are described on the following pages.

Corrosion Protection of New Components

All new components must be inspected for transport or storage damage such as scratches or dents. The following operations may be necessary, depending on the extent of damage:

Undamaged New Component

  • Do not grind the cathodic dip primer.
  • Thoroughly clean with silicone remover and rub dry.

Slightly Damaged New Component

  • Sand out scratches.
  • Finely sand the surrounding surface.
  • Thoroughly clean with silicone remover and rub dry.
  • Apply corrosion protection primer to bare areas.

Damaged New Components (bumps and dents)

  • Beat out the dented area and sand down to bare metal.
  • Apply polyester filler (only onto bare metal).
  • Apply filler.
  • Lightly sand the whole component.
  • Thoroughly clean with silicone remover and rub dry.
  • Apply corrosion protection primer to bare areas.

The clinched flanges on the hood, doors, tailgate and liftgate must be sealed with clinched flange sealer.

Weld Components

Use a rotating tress wire brush to remove the dip coat on the inside and outside of the area to be welded, taking care not to damage the zinc coating.

NOTES:
  • The area to be ground should be kept as small as possible, the corrosion protection applied in production (cathodic primer) should be retained as much as is possible.

  • The welding primer must be stirred well or shaken before application.

Clean the repair area thoroughly (silicone remover).

Apply welding primer evenly to all weld flanges (old and new components).

NOTE:

The welding primer must be allowed to dry before welding is carried out.

Apply Welding Primer
E56116

All weld beads must be ground down after all welding is completed, taking care not to weaken the material.

Any unevenness at the joint must be made good.

If necessary, spot weld missing T-pins for trim strip clamps into position. The vehicle must be completely cleaned of sanding dust and metal swarf because of the danger of corrosion.

Clean and prime all internal areas and those to be sealed.

NOTE:

The primer must be dry before sealing mastic or underbody protection is applied. Do not use thinners when applying sealing mastic (the mastic will not dry).

Partial Renewal

The procedure to follow when partially renewing components is the same as described in the section "Welded Components".

The main difference when components are partially, rather than completely renewed, concerns the preparation of butt or lap joints.

  • When bodywork components are cut through, attention must be paid to the adequate removal of the paint and zinc coatings on inner areas. This specially applies to areas which are difficult to access internally.
  • It is important for the weld quality that the inner area is bare metal. Zinc and paint residues in the weld area burn and cause serious hole formation during welding.
  • If the zinc layer and the paint coating are not removed, the zinc and paint will burn during welding. The soot produced prevents satisfactory cavity protection.

Procedure

  • The paint layer must be removed for a width of 30 mm from the line of the weld using a rotating tress wire brush.
  • This operation must be carried out on both the new and the old parts of the bodywork.
  • Depending on the bodywork component, a 10 mm width of the underlying zinc layer must also be removed along the weld line.
NOTE:

A flat scraper or a wire brush can be used instead of the rotating brush if the cavity is small. Do not use an angle grinder, which would weaken the structure.

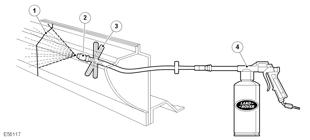
Application of Cavity Wax Protection on a Door Rocker Panel After Partial Repair
E56117
 
ItemDescription
1Weld bead
2Spray head
3Distance maintainer
4Spray gun

Classification of the different corrosion protection measures for dent removal

Corrosion Protection MethodExterior SurfacesAccessible Inner SurfacesInaccessible Inner Surfaces
PaintingXX 
Cavity protection  X

Classification of Different Corrosion Protection Measures for Installation of New Components

Corrosion Protection MethodWeld Flanges Before Welding in Place (contact surfaces)All Bare Sanded AreasWeld Flange Area AccessibleWeld Flange Area Not Accessible
Welding primerX   
Painting XX 
Clinched flange protection  X 
Cavity protection   X

Body Sealing Materials

E56018
 
ItemDescription
1Between Panels - Bolted
2Panel Edge Bolted
3Between Panels - spot welded
4Panel edges - spot welded
5Between panels - bonded
6Panel edges - bonded
7Clinch joints - type A
8Clinch joints - type B
9Clinch joints - type C
10Gaps between panels - type A
11Gaps between panels - type B
12Lap joint

The materials listed in this section are those approved to be used in conjunction with the repairs shown in this manual.

If any of these items are not available check with the supplier/manufacturer of these products for a superseded equivalent.

Description - UsageSupplierPart Number
Cavity - Wax
Inner Cavity Wax (Amber)
Inner Cavity Wax (Transparent)
Cavity Wax
-
3M
3M
Croda
-
0890/11/21
08909/19/29
PW57
Engine Bay Waxes/Lacquers
Astrolan Engine Bay Wax and Cosmetic Wax
Engine Bay and Cosmetic Wax/Lacquer
Engine Bay Cosmetic Lacquer
-
Astors
Croda
Dinol
-
DA3243/1
PW197
4010
Miscellaneous Materials
Aerosol Auto Adhesive (Trim) - impact adhesive for trim parts
Flexible Parts Repair Material - rubber modified polypropylene parts
Acoustic Foam (sika baffle 278) - expanding foam block repair
Flexible Foam (anti - flutter) - between panels
Water Shedder Repair (Aerosol)
Low Temperature Anti-Corrosion Coating (Magnesium)
-
3M
-
Sika
Duramix
Teroson
Land Rover
-
08080
-
LR Part No AZL 500021. Ford Part No 6H22-11840-AA
4320
-
VEP 501 840 PMA
Seam Sealers  
Body Caulking - type (b) gaps between panels3M08568
Drip Check Clear - bolted, spot welded and bonded panel edges; type (a) and (b) gaps between panels; type ©) clinch joints3M08401
Drip Check Heavy - type (b) gaps between panels; type ©) clinch joints3M08531
Polyurethane Seam Sealer - bolted, spot welded and bonded panel edges; type (a) and (b) gaps between panels; type (b) clinch joints3M08684/89/94
Polyurethane Sealer (Sachet) - bolted panel edges; type (b) clinch joints3M08703/83/88
Sprayable Sealer - lap joints3M08800/23
Super Seam Sealer - lap joints; type (b) clinch joints3M08537
Weld Thru' Sealer - between spot welded panels3M08626
Betafill Clinch and Brushable Sealer - type (b) clinch jointsGurit-Essex10211/15/20
Clinch, Joint and Underbody Coating - lap jointGurit-Essex10101/10707
Leak Check Clear - between bolted panels; spot welded and bonded panel edges; type ©) clinch joints; type (a) gaps between panelsKent Industries10075
Putty - type (b) gaps between panelsKent Industries-
Polyurethane Seam Sealer - bolted, spot welded and bonded panel edges; between bonded panels; type (a) and (b) gaps between panelsPPG6500
Polyurethane Seam Sealer - bolted, spot welded and bonded panel edges; between bonded panels; type (b) gaps between panelsTeroson92
Terolan Light Seam Sealer - bolted, spot welded and bonded panel edges; between bonded panels; type (a) and (b) gaps between panels; between bonded panels; type ©) clinch jointsTeroson-
Terolan Special Brushable Seam Sealer - lap jointsTeroson-
Terostat Sprayable Seam Sealer - bolted, spot welded and bonded panel edges; between bonded panels; type (b) gaps between panelsTeroson9320
Terostat 1K PU Seam Sealer (SE 20) - type (a) and (b) gaps between panels; spot welded and bonded panel edgesTeroson-
Sealing Compound - bolted, spot welded and bonded panel edges; between bonded panels; type (b) gaps between panelsWurths8901001/-/6
Structural Adhesives  
Automotive Structural Adhesive - between bonded panels; type (a) clinch joints3M08122
Two Part structural Epoxy - between bonded and spot welded panels; type (a) clinch jointsCiba-GeigyXB5 106/7
Underbody Sealers  
Body-Schutz3M08861
Spray-Schutz3M08877
Crodapol Brushable Underbody SealerCrodaPV75
Terotex Underseal (CP02)Teroson9320
Underbody Waxes  
Stone Chip Coating (smooth)3M08158/9
Underbody WaxCrodaPW61
Underbody WaxDinolTectacote 205
Weld - through Primers  
Weld Thru' Coating3M05913
Zinc Spray3M09113
Zinc Rich PrimerICIp-565 634

Material Equipment/Suppliers

3M

  • Automotive Trade Group
  • 3M UK Plc
  • 3M House
  • PO Box 1
  • Market Place
  • Bracknell
  • Berks.
  • RG12 1JU
  • Telephone (01344) 858611

Cooper Pegler

  • Burgess Hill
  • Sussex
  • RH 15 9LA
  • Telephone (014446) 42526

SATA Spray Equipment

  • Minden Industrial equipment
  • 16 Greyfriars Road
  • Moreton Hall
  • Bury St Edmunds
  • Suffolk
  • IP32 7DX
  • Telephone (01284) 760791

Teroson

  • Watchmead
  • Welwyn Garden City
  • Hertfordshire
  • AL7 1JB
  • Telephone 01707 358800

Underbody sealer

Under floor areas and rocker outer panels are treated with a plastisol PVC underbody sealer. This material is not suitable for re-treatment. When repairing areas of underbody sealer, strip the factory-applied underbody sealer back to a suitable break point. Ensure that a clean metal surface is exposed and that the edge of the existing adheres soundly to the panel.

Apply new underbody sealer between primer and surface paint operations. Apply seam sealer as necessary before application of underbody sealer. Ensure that blanking plugs and grommets in the floor pan (except those used for wax injection) are fitted before underbody sealer application. Refit any heat-fusible plugs which have been disturbed in repair with the aid of a hot air blower, or replace with rubber grommets

CAUTION:

Ensure that suspension units, wheels, tires, power unit, drive shafts, exhaust and brakes (including all mounting points) are shielded prior to application of fresh underbody sealer.

Area of Underbody Sealer Application
E63813

Precautions During Body Repairs and Handling

Take care when handling the vehicle in the workshop. Underbody sealers, seam sealers, underbody wax and body panels may be damaged if the vehicle is carelessly lifted.

Proprietary Anti-corrosion Treatments

The application of proprietary anti corrosion treatments in addition to the factory-applied treatment could invalidate the corrosion warranty and should be discouraged. This does not apply to approved, compatible, preservative waxes which may be applied on top of existing coatings.

Fitting Approved Accessories

When fitting accessories ensure that the vehicle corrosion protection is not affected, either by breaking the protective coating or by introducing a moisture trap.

Do not screw self-tapping screws directly into body panels. Fit suitable plastic inserts to the panel beforehand. Always ensure that the edges of holes drilled into panels, chassis members and other body parts are protected with a suitable zinc rich or acid etch primer, and follow with a protective wax coating brushed onto the surrounding area.

Do not attach painted metal surfaces of any accessory directly to the vehicle's bodywork unless suitably protected. Where metal surfaces are bolted together always interpose a suitable interface material such as weldable zinc rich primer, extruded strip, or zinc tape.

Steam Cleaning

Due to the high pressure/temperature generated by steam cleaning equipment, there is a risk that certain adhesives and corrosion prevention material may become softened or liquified.

Take care not to allow the steam jet to dwell on one area, and keep the nozzle at least 300mm from the panel surface.

CAUTION:

Do not remove wax or lacquer from underbody areas during repairs.

Inspection During Maintenance Servicing

It is a requirement of the corrosion warranty that the vehicle is checked for corrosion by an authorised Land Rover Authorised Repairers at least once a year, to ensure that the factory-applied protection remains effective.

Rectify any bodywork damage or evidence of corrosion found during inspection as soon as is practicable, both to minimise the extent of the damage and to ensure the long term effectiveness of the factory-applied corrosion prevention treatment.

Underbody Protection Repairs

Whenever body repairs have been carried out, ensure that full sealing and corrosion protection treatments are reinstated. This applies both to the damaged areas and also to areas where protection has been indirectly impaired, as a result either of accident damage or repair operations.

Remove corrosion protection from the damaged areas before straightening or panel beating. This applies in particular to panels coated with wax, PVC underbody sealer, sound deadening pads etc.

CAUTION:

Do not use oxy-acetylene to remove corrosion prevention material. Large volumes of fumes and gases are liberated by these materials when they burn.

The most common method of removal is by means of a hot air blower with an integral scraper. High temperatures can be generated with this equipment which may cause fumes. Take care during its use.

Structural Adhesive

Metal to metal adhesive is applied to critical joint areas during factory assembly. The material used is a high temperature, heat cured, nitrile phenolic which serves to bond two metal surfaces and also to seal the joint against ingress of dust, moisture and fumes. This material is not suitable for service use and, during repair, should be substituted by an approved structural adhesive.

CAUTION:

When separating a joint with metal to metal adhesive, it is important to avoid distortion. Heat gradually until the bond weakens sufficiently to permit panel separation.

NOTE:

When spot welding through metal to metal adhesive, take particular care to adjust the equipment setting to ensure a suitable weld.

Areas of Structural Adhesive
E58393
ItemApplicationFunction
1 B-pillar upper hinge RH/LHStructural
2 B-pillar upper hinge RH/LHStructural
3 B-pillar check-strap RH/LHStructural
4 C-pillar striker reinforcementStructural
5 B pillar rear door apertureStructural
6 B-pillar lower hinge RH/LHStructural
7A-pillar lower hinge RH/LHStructural
8A-pillar check-strap RH/LHStructural
9A-pillar to windshield apertureStructural
10A-pillar to front door apertureStructural
11A-pillar upper hinge RH/LHStructural
12B-pillar latch faceStructural

Joints symmetrically opposite to those shown are also treated. Apply 3mm diameter beads to all joints shown. Leave rocker drain points free of adhesive.

Expanding Foam Acoustic Seals

Expanding foam acoustic seals are used in various closed-sections of the body to improve vehicle refinement. The seals are installed during the vehicle body manufacture and expand during the paint process up to ten times original size, thus locking them into position. They are located such that they prevent noise accentuation along a section and reflect air borne noise away from the cabin.

The seals have spilt functionality depending on location. The seals located at the base of the body pillars have a primary function of preventing water ingress when wading. Their secondary function is to prevent noise and dust ingress.

The seal around the fuel filler has a primary function of preventing both fuel and water ingress. With a secondary function of preventing noise and dust ingress.

The remaining seals primary function is to prevent noise accentuation along a section and reflect air borne noise away from the cabin.

Another advantage of the seals is that they marginally increase the overall stiffness of the body and its structural performance in case of a crash.

The seals are manufactured from an expandible polymer, 'Sika Baffle 250.'

Replacing Foam Acoustic Seals

As paint oven temperatures used in a repair workshop are significantly lower than those that are used during manufacture of the vehicle, a different process is required to replace the seals.

After a repair that involves replacement of a section containing expanding foam acoustic seals, the new expanding foam acoustic seal is installed to the new section and injected with an approved acoustic foam. The acoustic foam should be injected after paint refinishing, where possible. When injecting the foam, ensure the foam fills a complete cross section of the cavity and around the expanding foam acoustic seal.

Acoustic Seals in the Front Reinforcement Assembly
E58394
ItemDescriptionFunctionService part No
1A-pillar upper outerAcousticEUH500070
2A-pillar lower outerWater Ingress/AcousticEUH000540
3Rocker panel outerAcousticEUH000680
4B-pillar lower outerWater Ingress/AcousticEUH000570
5B-pillar lower innerWater Ingress/AcousticEUH000560
6Rocker panel middleAcousticEUH000670
7A-pillar lower innerWater Ingress/AcousticEUH000550
8A-pillar upper innerAcousticEUH500080
Acoustic Seals in the Rear Quarter Panel
E58395
ItemDescriptionFunctionService part No
1C-pillar outerAcousticEUH500100
2Rear wheel arch outerWater Ingress/AcousticEUH500060
3Fuel filler apertureWater/Fuel IngressARY780030
4Rear wheel arch innerWater Ingress/AcousticEUH000580
5Rear wheel arch innerWater Ingress/Acoustic 
6C-pillar innerAcousticEUH500040
7D-pillar innerAcousticEUH500010
8D-pillar outerAcousticEUH500110

Seam Sealer

A heat cured, PVC based sealant is applied to specific joint seams during factory assembly. This material is not suitable for service use and during repair and should be substituted by an approved seam sealer.

Apply seam sealers after the application of primer and before the application of top coat. The sealer must form a continuous bead, with the profile of the bead dependent on the type of seam. If the seam sealer is applied with a brush take particular care to maintain the required coverage of the seam.

Ensure that all accessible repair seams are sealed following a repair. Damage to a vehicle often flexes areas of the body remote from the impact. As a result the seam sealer in these areas may be disturbed by subsequent straightening and repair operations. Check all seams in the vicinity of the area undergoing repair for evidence of cracked seam sealer, then clean out as required and apply fresh seam sealer using the following procedure:

  • Clean the affected seam and re-treat any exposed metal areas with a suitable etch phosphate primer.
  • Treat affected area with an etch-acid primer.
  • Apply appropriate seam sealer as necessary.
  • apply appropriate colour coat (and under body sealer as applicable).

Where seams are inaccessible following the reassembly or fitting of components, ensure that a paste-type seam sealer is applied to such seams. Certain seams also become inaccessible after the completion of panel repairs. In such instances apply seam sealer and paint before final assembly

Provided access is adequate, apply seam sealer to both sides of a repair joint. Where access is limited to one side only (e.g. box section), treat the affected box member with cavity wax.

Seam Sealer on the Rear End
E58396
Underbody Seam Sealer
E56148

Cavity Wax

After repairs, always re-treat these areas with an approved cavity wax. In addition, treat all interior surfaces which have been disturbed during repairs whether they have been treated in production or not. This includes all box members, cavities and door interiors.

Before wax injection, ensure that the cavity to be treated is free from any contamination or foreign matter. Where necessary, clear out any debris.

Ensure that cavity wax is applied after the final paint process and before refitting any trim components.

During application ensure that the wax covers all flanges and seam areas and that it is adequately applied to all repaired areas of both new and existing panels.

It should be noted that new panel assemblies and complete body shells are supplied without wax injection treatment. Ensure that such treatment is carried out after repairs.

Effective cavity wax protection is vital. Always observe the following points:

  • Complete all paint refinish operations before wax application.
  • Check the spray pattern of injection equipment.
  • Mask all areas not to be waxed.
  • Remove body fixings, such as seat belt retractors, if contamination is at all likely.
  • Move door glasses to fully closed position before treating door interiors.
  • Treat body areas normally covered by trim before refitting items.
  • Check that body and door drain holes are clear after the protective wax has dried.
  • Keep all equipment clean, especially wax injection nozzles.
Wax Injection Areas, Body
E58397
Wax Injection Areas, Doors
E58621