Published: 26-Feb-2019

2007.0 Range Rover Sport (LS), 501-25A

Body Repairs - General Information -

Body Repairs (G453192)

DESCRIPTION AND OPERATION
General Information

Introduction

The body plays a significant role in the increasing trend of ever more rapidly changing model variants. The different customer groups are strongly influenced by the design and shape of the body. At the same time the stability of the body plays the most important part in ensuring passenger and driver safety. Lightweight construction, alternative materials, composite materials, plastics and appropriate joining processes are all design features that characterise modern Jaguar Land Rover vehicle bodies.

In terms of manufacturing technology, modern safety cell bodies can be produced almost without any problems. Jaguar Land Rover guarantee high quality standards by ensuring that mechanical strength properties are tried and tested in numerous computer simulations, crash tests, by testing materials and by employing sophisticated manufacturing technologies. In the event of repairs it is vital that the production quality standards are upheld. This requires a well-equipped workshop, and places particular emphasis on the qualifications of the workshop technicians. Up-to-date knowledge of current manufacturing technologies and continuous training on new repair methods and techniques are vital for high-quality body repairs. The model-specific repair manuals and the general repair techniques provide valuable support when undertaking body repairs.

Always follow the repair instructions published in this manual.

It is key to safety and vehicle integrity that only the approved methods, materials and equipment are used. To successfully complete structural repairs to Jaguar Land Rover products, it is necessary for the repairs to follow the correct aftermarket process for adhesive (bonding), riveting and welding to ensure vehicle integrity is maintained after a collision.For additional information, refer to: Body Repairs (501-25A Body Repairs - General Information -, Description and Operation).

Vehicle design

The body

The Range Rover Sport’s body is manufactured like a conventional monocoque. Two monosides are welded to the floor, roof and bulkheads, creating a strong, single structure. Significant use is made of high-strength steels. Ultra high strength steel is used for the A and B-pillars, for added strength in front and side impacts. The roof structure can accommodate a roof opening panel. When a sunroof is not fitted, the outer roof panel is a single large steel pressing with styled swages to add strength and prevent booming.

The safety of the driver and the passengers is paramount for every body design. There are two key safety aspects in the body:

  • Safety passenger cell
  • Crumple zones

Safety passenger cell

  • Stable pillars, rocker panel and door profiles.
  • Side impact protection in the doors.
  • Doors are designed to open even in the event of extreme deformation.

Crumple zone

  • Dynamic absorption of deforming forces.
  • Protection of the passenger cell.

Integral body frame

  • The extremely stable integral body frame forms the base to which the body is bolted to and the vehicle components like the axles, engine etc, are attached. The integral body frame is made from DD11 (BS1449) mild steel. If necessary the body can be removed from the integral body frame to ease repairs.
Vehicle design
E58233
 
ItemDescription
1Body
2Integral body frame

High Strength Steels

Most modern vehicles are constructed from a number of different steels, partly to obtain an optimised body (collision, safety, rigidity, fuel economy, etc).

Steels are divided into several groups according to their tensile and yield strength, that is to say the force necessary to bring about plastic deformation of the material.

Yield Summary

Yield is the strength at which the metal changes from elastic to plastic in behaviour, the point of no return.

Tensile Summary

Tensile strength is the breaking strength of a material when subjected to a tensile (stretching) force, the point of no return.

SSSoft SteelMaximum Yield point of 220 MPa
DPDual PhaseSteel With a Yield Point up to 400 MPa
HSHigh Strength SteelSteel With a Yield Point 220 - 450 MPa
EHSExtra High Strength Steel Steel With a Yield Point 450 - 800 MPa
UHSUltra High Strength SteelSteel With a Yield Point up to 1400 MPa

Ultra High Strength Steel:

The addition of ultra high strength steel gives steel greater strength. The profile of the steel is formed between a press and pad while the metal is red hot. The steel also hardens here.

Ultra high strength steel cannot be straightened due to its brittleness and must always be replaced. When replacing ultra high strength steel components it is recommended to remove spot welds from the adjacent panel which is normally low carbon DP, HS or EHS, which posses no great issues. When this is not an option it is recommended to either plasma cut or grind the weld areas. Conventional spot weld drills are not recommended as they are dulled after only several welds and this can prove to be an expensive option.

Welding Ultra High Strength Steel

Ultra high strength steel requires welding equipment which can achieve the following equipment settings.

Spot Welding

Car-O-Liner CR300 Machine, set at 2x2mm on extra program. Average Tip Pressure at 7 bar = 289Nmm².

Elektron MI100 Machine, set at 3 thickness on HS program and 2x2mm panel thickness. Average Tip Pressure at 9 Bar = 389 Nmm².

MIG Brazing

Fronius Trans Plus Synergic 2700 4 R/Z/AL MIG Welder, with CuSi3 (DIN 1733) 1.0mm filler wire with setting parameters 4, which is 92 Amps, Wire feed 4.6 m/min. Shielding gas L1 = pure Argon (DIN 439).

Ultra high strength steel in body structure
E58234

The addition of ultra high strength steel for the reinforcement of the A-Pillar, cantrail, B-Pillar and door panel gives the body greater strength in a front or side impact.

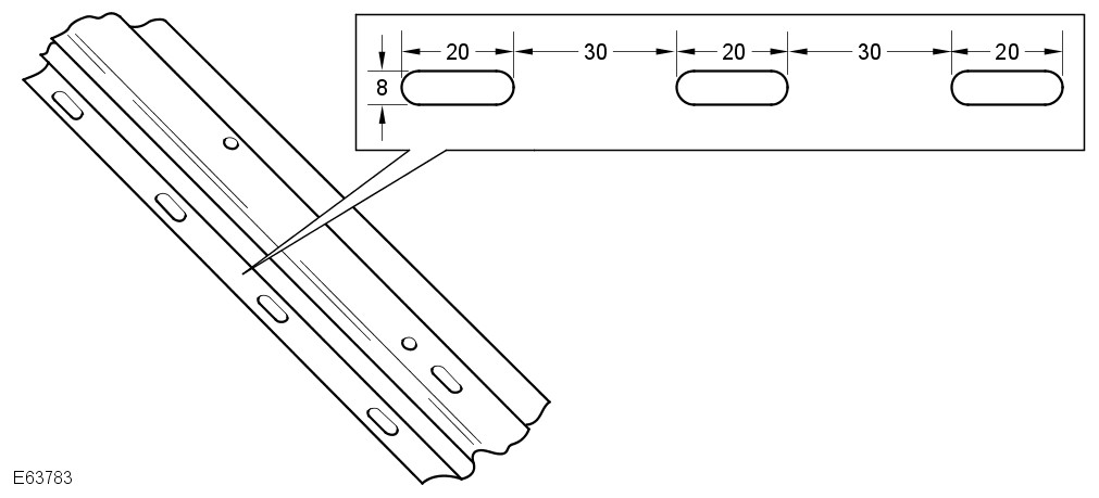
When installing a new A-pillar upper panel, it must be brazed onto the ultra high strength steel through slots that need to be cut into the new A-pillar upper panel.

Attaching a new panel to ultra high strength steel

  • Abrade old and new A-pillar upper panel along both sides of the joint flanges.
  • NOTE:

    The size of the slots are to be 20mm X 8 mm and 30 mm apart.

    Drill and slot the new A-pillar upper panel and abrade around the slot areas.
E63783
  • Apply weld through primer to the inner surface of the new A-pillar upper panel, avoiding areas where bonding has to take place.
  • Abrade the ultra high strength steel in the areas adjacent to the slots in the new panel.
  • Apply weld through primer to A-pillar reinforcement and inner surfaces of the remaining joint surfaces, avoiding areas where bonding has to take place.
  • Tack braze the butt joints into position.
  • Spot weld along the joint flanges where required avoiding the ultra high strength steel.
  • Remove the weld through primer from the slots in the new A-pillar upper panel using 60/80 abrasive cloth.
  • NOTE:

    Mig brazing is carried out at a temperature of 650°C to 950°C. To avoid degradation of the ultra high strength steel material properties, the temperature must be below 950°C.

    Mig braze the slot(s) using Fronius Trans Plus Synergic 2700 4 R/Z/AL MIG Welder, with CuSi3 (DIN 1733) 1.0mm filler wire with setting parameters 4, which is 92 Amps, Wire feed 4.6 m/min. Shielding gas L1 = pure Argon (DIN 439).
  • Dress the surface of the weld cap (brazed slot) with 60/80 grit belt sanders.

Aluminium

Aluminium 6000 series is used in the hood, tailgate and liftgate. It is made from magnesium/copper aluminium alloy and is heat treated during manufacturing/paint bake process resulting in a panel with increased strength and dent resistance.

When repairing aluminium you must use tools that have only been used on aluminium and never on steel panels, this is to prevent cross-contamination.

Aluminium in body structure
E58235

Magnesium

Magnesium AM60B is used to make the hood latch panel. It has good ductility and energy absorbing properties. It is also used on the instrument panel mounting beam.

It is recommended that no attempt should be made to weld or straighten the hood latch panel and it should be replaced in the event of an accident. If the corrosive coating is damaged it must be repaired using Jaguar Land Rover 'Low Temperature Anti-Corrosion Coating' part no VEP 501 840 PMA.

Magnesium in body structure
E58236

Accident damage and diagnosis

General notes

  • Exact diagnosis of the extent of the damage enables proper repair planning.
  • All body repairs must be carried out in accordance with the guidelines in this Body Repair Manual.
  • The stability and strength properties of the body must be taken into account during body repairs. The body has exact defined deformation patterns that must not be affected by any repair work.
  • For instance, the crumple zones absorb the bulk of the impact energy. If any unprofessional repair techniques or methods are used in these areas then this can pose a fundamental threat to vehicle safety.

Hidden damage

  • As well as looking at external indicators like flaked off paint, it is vital to check for hidden body damage or deformation that is not visible from the outside. Large attached parts like bumpers and inner fenders often need to be removed to allow accurate assessment of damage to underlying body parts.

Gap dimensions

Gap dimensions offer another alternative for diagnosis by visual inspection. If any changes or misaligned edges are apparent, then this usually indicates that the dimensions of the affected part are incorrect.

Changes in gap dimension
E0003919
 
ItemDescription
1Gap too wide
2Gap too small

Impact effects on the body

NOTE:

Vehicle components like drive shafts and trailer attachments transfer forces. If a vehicle is subjected to a rear impact then all connected body parts and mechanical components (e.g. transmission mountings) should be thoroughly checked. Electronic components should be checked to ensure that they still operate correctly.

Furthermore it is possible to deduce the overall extent of damage from the direction and magnitude of the impact forces. This does however require extensive body-specific knowledge.

If, for instance, an impact occurs at the front left-hand side member, then the right-hand side member is usually also affected as a result of the rigid body-shell design (crossmember). Often the length of this side member will not have changed, but because of the rigid body-shell design it may have moved from its original position (often only by a very small amount). If any deviations are present this can usually be detected by checking the gap dimensions between door and fender or by checking for changes in dimension.

In the case of more severe impacts, the front part of the body cannot absorb all of the impact energy, and the passenger cell is also deformed. Here the impact energy is transferred via the side member to the A-pillar (see diagram). This results in deformations in the area of the roof and the door rocker panel.

The body reacts quite differently to side impacts where there is hardly any crumple zone. As the passenger cell is extremely stable, there are comparatively few local deformations at the site of the impact. However, the impact forces are transferred to the entire vehicle floor, which often results in so-called "banana damage", where the vehicle is bent into a banana shape.

Impact energy is transferred via the side member to the A-pillar
E56123
 
ItemDescription
1Deformation area - roof rail
2Deformation area - roof
3Deformation area - door rocker panel

Body measurements

Measuring options

  • Comparison measurements can also be made on the outside of the body. Depending on the damage, comparison measurements and diagonal measurements can be carried out using compass, telescopic rod, tape measure or ruler.
  • NOTE:

    The same reference points must be chosen on both sides when checking for changed dimensions (e.g. bores, edges, beads/swage lines etc).

    All of the important external body dimensions are listed in Tolerance Checks. For additional information, refer to: Body and Frame (501-26 Body Repairs - Vehicle Specific Information and Tolerance Checks, Description and Operation).
  • Measurements with a measuring/straightening jig.
  • A measuring/straightening jig is required for accurate measurements of the body. The measuring systems are categorised by their means of operation:
  • Mechanical measuring system.
  • Optical measuring system.

Quick and accurate measuring results can be obtained using computerised measuring systems.

A minimum of three intact measuring points on the body are required for measurements of length, width and height dimensions.

In some cases this may mean making the measuring points accessible. All of these measuring systems can be used to make body measurements, provided all the equipment is available.

Planning a repair

The following decisions have to be made before the repairs are started:

  • Does the vehicle need to be put on a straightening jig, or can it be straightened by other means?
  • Does the body need to be measured?
  • Do aggregates like engine or axles need to be removed?
  • NOTE:

    It is preferable to repair body parts rather than to renew them, as this keeps the complete body-shell intact.

    Which body parts need to be renewed?
  • Which body parts can be repaired?

Obtaining spare parts

The availability of spare parts often determines how easily the body repairs can be carried out. The following procedure is recommended:

  • Obtain all the data for the vehicle, including type, vehicle identification number, trim code, engine identification letters, initial registration etc.
  • Establish all of the metal parts that need to be renewed.
  • Establish all of the attached parts that need to be renewed, including small parts like rivets, clips etc.

Straightening repairs

Straightening repairs are often required to restore the body to its original shape after an accident. This can be done with:

  • Alignment jigs.
  • Universal straightening and measuring jigs.
  • Welding jig system.

The following points must be followed to ensure that the repairs are carried out professionally and that all the dimensions are correct after the repairs have been carried out.

  • Structure:
    • The repair sequence depends on the individual repair plan (taking any necessary disassembly work into account).
    • Clean the attachment areas.
    • Anchor the vehicle free of stress on the relevant system.
    • Support the aggregates to take strain off the body.
    • Decide on at least three measuring/mounting points that are undamaged and as far apart as possible (for basic adjustment).
    • Check the dimensions of the measuring/mounting points.
  • Straightening:

    Check dimensions and gaps continuously during straightening.

    • A body is always straightened in the opposite direction to that of the impact. Always carry out straightening repairs with the complete body shell assembled (do not cut out any parts beforehand). Carry out the straightening work in several stages. This prevents the risk of over stretching or of welded joints tearing out. During the individual straightening steps, relieve tension by striking with an aluminium hammer while the part is subjected to a tensile load (in the area of pre-determined folding points, dents, welded joins etc.).
  • Special features:
    • Ultra high strength steel cannot be straightened due to its brittleness and must always be replaced.

Cutting out body parts

Depending on how the parts are joined/connected, different tools are suitable for cutting/separating body parts.

Spot-weld mill
E0003924
NOTES:
  • All other parts like interior equipment, window glass etc. must be protected against flying sparks.

  • Ensure that the milling depth is set correctly to prevent the remaining flange from being weakened.

Rod sander
E0003925
NOTE:

Wear protective clothing. Protect any vulnerable body or glass areas against flying sparks. Remove explosive materials from the vicinity.

Any spot welds that are inaccessible for the spot-weld mill (diameter > 8 mm) should be ground out using a rod sander. The same applies to MIG spot welds or seams.

Short stroke saw
E0003926
NOTE:

Underlying metal parts, wiring harnesses, hoses etc. must not be damaged - remove them beforehand if necessary.

Body saws are particularly versatile and are therefore very suitable for making severance cuts on body parts.

Reciprocating saw
E0003927

In addition to the short stroke saw, the reciprocating saw can be used. With this, it is possible to make narrow and straight cuts to an exact depth.

Carrying out the repairs

  • Complete replacement
    • In a complete replacement the entire damaged old part is removed at its original joins/connections, and a complete new part is then installed. The following illustration shows a replacement new back panel.
Replacement of a new back panel
E58237
  • Sectional replacement
    • In many cases it makes technical and economical sense to carry out a sectional replacement. The two main considerations are firstly, maintaining the original overall body shell structure and secondly, keeping the repair costs to a minimum.
  • The main method for sectional replacement:
    • Butt joints.
    • New part and old part are joined with a continuous MIG weld seam.
    • Butt joints are most commonly used for sectional replacements on members and pillars, or on short severance cuts.
Butt joint
E0003929
NOTE:

The severance cut should always be kept as short as possible on sectional replacement. Only cut at the severance lines shown in the repair chapters.

Do not make any cuts near reinforcements or pre-determined folding lines.

  • Prepare parts remaining on the vehicle/new parts.

    Do not use a welding torch to remove paint residue (the heat could cause the metal to deform).

    • Reshape the adjoining surface of any dented body parts that are to remain on the vehicle using a hammer and a counterhold (ensure that the old part matches the shape of the new part). Grind off left over spot welds or seams with an angle grinder.
    • Cut the new parts to shape.
    • If necessary punch or drill holes for mig plug welding.
    • Grind all joining flanges to bare metal on both sides. Do not use an angle grinder for this purpose (this could weaken the metal and damage the zinc layer). Suitable tools: rotating wire brush, belt sander or plastic disc.
    • Apply welding primer liberally to all weld flanges.
    • The primer must be well stirred before use.
NOTES:
  • When using aerosols, take care not to contaminate adjacent parts with spray mist.

  • For additional information, refer to: Corrosion Protection (501-25B Body Repairs - Corrosion Protection -, Description and Operation).

Fit the new part.

  • It must be ensured that the new part fits exactly to the specified dimensions. Suitable equipment:
    • Alignment jig.
    • Universal measuring system.
    • Jig system.
    • Ruler or tape measure.
    • Compass.
    • Frame dimensions can be found in the model-specific repair manuals.
  • NOTE:

    Any attached body parts that require accurate alignment and fitting must be incorporated in this step; for instance bumpers, seals, headlamps, rear lamps and lock assembly components. If this is not done carefully it may result in water leaks, wind noises and substantial follow-on work.

    Ensure that edges line up with adjacent parts and check that gaps are consistent (compare left and right-hand sides). Make sure that the shape of the vehicle is retained.

Secure the new part

  • NOTE:

    The need for subsequent follow-on work can be significantly reduced if aligning and tack-welding are carried out with due care.

    Depending on accessibility the following methods for securing are available:
    • Grip pliers (set of).
    • Screw clamp (set of).
    • Self-tapping screws.
    • Tack welds.
  • Use a staking tool or a screwdriver to ensure that the edges of sectional replacements of profiled parts line up. The edge is then tack welded to ensure that it lines up.
Aligning and tack weld
E0003933
 
ItemDescription
1Tack welds
2Using a screwdriver to align
  • Longer joins are usually tack welded to prevent the panel from warping. It is important to carry out the tack welds in the correct sequence (see diagram).
  • Weld in the new part following the instructions in the repair manual.
Correct tack welding sequence
E0003934

Follow on repairs/corrosion protection

  • This step basically covers the following work:

    For additional information, refer to: Corrosion Protection (501-25B Body Repairs - Corrosion Protection -, Description and Operation).

    • Grinding welded seams.
    • Priming any bare metal.
    • Sealing welded seams.
    • Applying underbody protection.
    • Sticking damping matting in place.
    • Filling cavities with cavity wax.
    • Cavity wax (after painting).

Panel Beating

Fundamentals of panel beating

  • Before carrying out any sectional replacements or complete replacements of body panels, always check carefully whether the damaged panel(s) can be rectified by panel beating.
  • Panel beating is usually the easiest and most economical method of repairing a damaged panel.

Examples of applications of different panel beating techniques:

  • Aluminium hammer and mallet.
    • Advantage: Low risk of overstretching the panel.
    • Used for repairs of small dents on panels that are accessible from both sides.
    • These two panel beating tools are usually used for "finishing repairs".
Fine straightening with an aluminium hammer and a universal dolly
E0003935

Safety measures

  • The electronic control modules (ECM) fitted to vehicles make it advisable to follow suitable precautions prior to carrying out welding repair operations. Harsh conditions of heat and vibration may be generated during these operations which could cause damage to the modules. In particular, it is essential to follow the appropriate precautions when disconnecting or removing the airbag RCM.
  • Do not allow electronic modules or lines to come into contact with the ground connection or the welding electrode.
  • Seat belt anchorages are a safety critical. When making repairs in these areas, it is essential to follow design specifications. Note that extra strength low alloy steel may be used for seat belt anchorages. Where possible, the original production assembly should be used, complete with its seat belt anchorages, or the cut line should be so arranged that the original seat belt anchorage is not disturbed.
  • All welds within 250mm (9.842) of seat belt anchorages must be carefully checked for weld quality, including spacing of spot welds.
  • Remove the battery before carrying out welding work in its vicinity.
  • Utmost care must be taken when welding near the fuel tank or other components that contain fuel. If the tank filler neck or a fuel line must be detached to allow access for welding work, then the fuel tank must be drained and removed.
  • Never weld, on components of a filled air conditioning system. The same applies if there is a risk of the air conditioning system heating up.
  • Connect the ground connection of the electrical welder directly to the part that is to be welded. Ensure that there are no electrically insulating parts between the ground connection and the welding point.
  • Adjacent vehicle parts and adjacent vehicles must be shielded against flying sparks and heat.

Resistance spot welding

Where resistance spot welds have been used in production, they must be reproduced with new spot welds in replacement where possible. All such reproduction spot welds should be spaced 25 to 30mm apart.

Setting up the equipment and co-ordinating the welding parameters.

  • Equipment:
    • Follow the equipment manufacturer's instructions for the equipment settings.
    • Select the correct electrode arms (as short as possible).
    • Align the electrode arms and tips exactly.
    • Electrode tips should be convex (rough shaping with a file, fine shaping with a sanding block).
  • Body:
    • Ensure that the flanges to be joined lie perfectly flat to one another.
    • Prepare a bare metal joint surface (inside and outside).
  • Notes on technique/method:
    • Carry out a test weld on a sample piece of the material coated in welding paste.
    • If any metal parts are located between the electrode arms then there will be a loss of induction and therefore power (adjust current setting).
    • The power needs to be adjusted for high-strength low alloy steel.
    • Repeated welding on old welding points often leads to poor quality welds.
    • Keep the electrode tips as near as possible to an angle of 90° to the contact surface.
    • Keep the pressure on the electrodes for a short period after finishing the weld.
    • The electrodes work best if their shape is convex. Clean the contact surface of the electrodes regularly.

Resistance spot welding panels where the total thickness is 3 mm or more

For all repairs to modern Jaguar Land Rover vehicles, spot-welding equipment should be suitable for reliable welding of zinc-plated, high-strength and high-tensile steels in three or more layers, up to 5 mm total thickness. If these requirements are not fulfilled, plug welding must be used for safety reasons. The electrical specifications (current, resistance, heat) of the spot-welding equipment have different validity, depending upon the type of equipment. Therefore, it is essential that the manufacturer's instructions are observed with regard to the actual welding performance.

MIG/MAG welding

Setting up the equipment and co-ordinating the welding parameters.

  • Any joins that are MIG/MAG welded in production must also be MIG/MAG welded during repairs. Also during repairs, some resistance spot welds need to be replaced by plug welds.
  • If access is difficult, or if a suitably powerful spot welder (see above) for total panel thicknesses of 3 mm or more is not available, resistance spot welding must be partially replaced by plug welding during repairs. In this case, the increased time needed and the correspondingly more demanding corrosion protection requirements, must be taken into account.
  • Welding repairs can only be carried out properly if the equipment is set up correctly and all the welding parameters are co-ordinated.
  • Equipment:
    • Set up the equipment as directed by the manufacturer.
    • The hoses must be untwisted.
    • The core must be free of abraded rod particles.
    • The gas and current nozzles must be free of slag and scale residue.
    • Pay attention to the quality of the welding rod and the throughput of gas.
  • Body:
    • Ensure that the joint surface is perfect.
    • Prepare a bare metal joint surface.
    • Maintain the correct gaps (formation of roots).
  • Notes on technique/method:

    The increased application of heat during MIG welding destroys the welding primer/zinc layer over a much larger area than during resistance spot welding, as a result of which much more care needs to be taken when applying anti-corrosion protection afterwards.

    A test weld should always be carried out to ensure that the welded joint is not just a surface connection.

    • Attach the ground cable right next to the welding point (ensure that good contact is made).
    • During plug welding start welding on the lower panel to ensure adequate penetration.
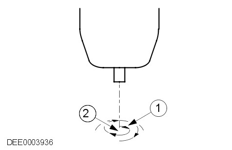
Plug welding
E0003936
 
ItemDescription
1Welding direction: circular pattern working from the inside outwards
2Welding starting point: centre of hole on lower panel

Bonded glazing

    • The windscreen, side and rear windows are bonded directly onto the window frames on the body and liftgate.
    • The windows are bonded primarily for reasons of adhesive strength. Bonded glazing provides additional torsional stiffness to the body.
Adhesive bonding of bonded windows
E0003938
 
ItemDescription
1Rubber strip
2Window frame
3Adhesive
4Window glass

Removing and installing bonded windows

Safety measures

  • The following safety measures must always be followed to prevent personal injury:
    • Wear protective gloves.
    • Wear protective goggles.

Preparations

  • Before cutting out a bonded window, undo and remove any attached parts in the cutting area that are at risk, e.g. trim panels and decorative strips, as well as all electrical connections.
  • Mask any painted areas that are adjacent to the window.
  • Cut off any surplus adhesive, as this makes it easier to cut out the window.
  • Secure vertical windows against dropping out.

Cutting out the window

  • Cut into the adhesive bead at easily accessible points using the cutting tool.
  • Carefully guide the cutting tool around the window, cutting through the adhesive bead.
  • Avoid touching the window frame and the body flange.
  • Use cup suction tools to lift the cut-out window out of the window aperture.

General preparations for bonding

  • Follow the manufacturer's instructions.
  • Cut back the remaining adhesive bead on the metal flange to a residual height of about 1mm. Do not touch or clean the cut surface afterwards.
  • Carefully rectify any paint damage (apply primer and top coat).
  • Renew the window stops as necessary.

Bonding the window glass

  • Apply an even bead of adhesive to the window or to the body flange.
  • Insert the window glass into the window aperture and centre it (2 technicians required).
  • Check the gaps.
  • NOTE:

    Open the windows and doors while the window is left to dry and do not move the vehicle (slamming doors creates excess pressure which could cause the window to become loose).

    Use adhesive tape to prevent the window from falling out or slipping.

Finishing operations

  • Reconnect all electrical connections and check that the components operate correctly.
  • Install the attached parts and check that the fit is accurate and secure.
    • Carry out a visual inspection to ensure that the gaps and joints are even.
  • Thoroughly clean the window glass.

Protective equipment and safety at work

  • Various safety measures and legal requirements must be met when carrying out repairs. All regulations relating to health and safety at work must be followed.

Welding safety precautions

  • The following safety precautions must be observed to prevent the risk of personal injury:
    • Safety hood (face protection).
    • Welding shield.
    • Safety gloves.
    • Safety shoes.
    • Extraction unit for welding smoke.
  • Welding should always be carried out in well ventilated areas. A fire extinguisher must also always be within reach.

General body repair safety measures

Extraction unit
E0003940
  • Sealing compound, underbody protection etc. must not be burned off with a naked flame. This would produce toxic gases. If for instance PVC is burned, then gases containing hydrochloric acid are produced. For this reason a suitable extraction unit should always be used when performing grinding, welding or soldering work.
  • Always ensure good ventilation when working with materials that contain solvents, wear breathing equipment and use an extraction unit.
  • Ear defenders should always be worn when cutting, grinding or straightening metal, as the noise levels can reach or even exceed 85 - 90 dB(A).
  • Take care not to look directly into any laser measuring systems, for instance used to measure the under body.
  • When removing components from a vehicle mounted on a lifting ramp, watch out for a shift in its centre-of-gravity. When first placing the vehicle on the ramp, take into account that it may need to be secured against tipping over.
  • Chains and chain clamps must be secured with safety ropes during straightening work.
Safety rope
E0003941