Published: 11-May-2011

2007.0 Range Rover Sport (LS), 501-30

Rear End Sheet Metal Repairs

Rear Side Member Rear Extension (G457326)

REMOVAL AND INSTALLATION
Removal
NOTE:

In this procedure, the rear side member section is replaced in conjunction with the back panel and rear crossmember.

  1. Disconnect both battery cables. For additional information, refer to: Specifications (414-00 Battery and Charging System - General Information, Specifications).
  2. Remove the back panel. For additional information, refer to: Back Panel (501-30 Rear End Sheet Metal Repairs, Removal and Installation).
  3. Remove the rear crossmember. For additional information, refer to: Rear Crossmember (501-30, Removal and Installation).
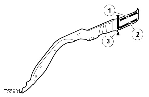
  4. E55931
     
    ItemDescription
    12 plug welds.
    22 plug welds.
    3Butt weld.
  5. E63549
     
    ItemDescription
    1Butt weld.
    22 plug welds.
    34 plug welds.
  6. E63550
     
    ItemDescription
    1Butt weld.
  7. For additional information:
      • Welding. For additional information, refer to: Body Repairs (501-25A Body Repairs - General Information -, Description and Operation).
      • Corrosion protection. For additional information, refer to: Corrosion Protection (501-25B Body Repairs - Corrosion Protection -, Description and Operation).
      • Tolerance checks. For additional information, refer to: Body and Frame (501-26 Body Repairs - Vehicle Specific Information and Tolerance Checks, Description and Operation).
Installation
  1. Install is the reverse of removal.