Published: 11-May-2011

2007.0 Range Rover Sport (LS), 415-02

Antenna (G427240)

DESCRIPTION AND OPERATION
Antenna Amplifier Component Location
E56959
 
ItemPart NumberDescription
1Side window frequency modulation (FM) diversity antenna
2TV antenna amplifier
3FM diversity antenna amplifier
4-TV antenna amplifier
5Global positioning system global positioning system (GPS) telephone and SDARS antennas
6-TV antenna amplifier
7-FM antenna amplifier
8-VICS/ TMC antenna amplifier
9-Side screen antennas
10-TV antenna amplifier
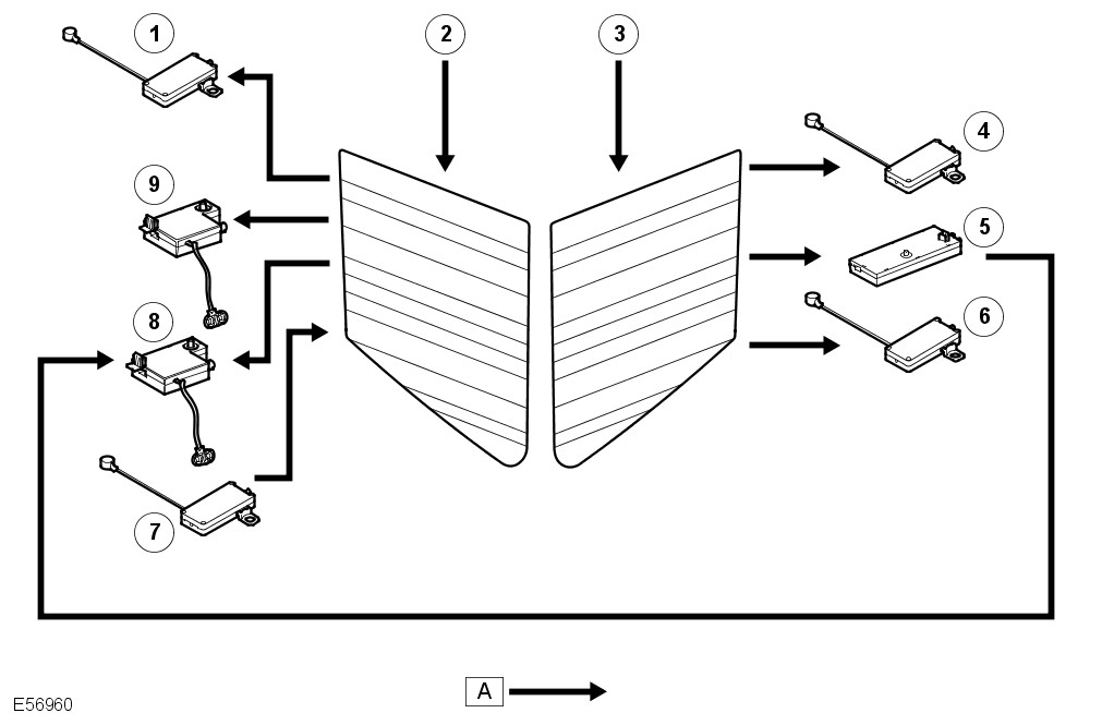
Screen Antenna Layout
NOTE:

A=Hardwired

E56960
 
ItemPart NumberDescription
1TV antenna amplifier
2left-hand (LH) Side screen antennas
3right-hand (RH) Side screen antennas
4-TV antenna amplifier
5-FM diversity antenna amplifier
6-TV antenna amplifier
7-TV antenna amplifier
8-FM antenna amplifier
9-VICS/TMC antenna amplifier

The antenna systems fitted to the vehicle comprise:

  • amplitude modulation (AM) (glass mounted)
  • FM (glass mounted)
  • FM diversity (glass mounted, where fitted)
  • TV (glass mounted, where fitted)
  • Multiband telephone antenna (roof mounted, where fitted)
  • global positioning system (GPS) antenna (roof mounted, where fitted)
  • SDARS (roof mounted NAS only)
  • VICS antenna and beacon antenna (Japan only where fitted)
FM ANTENNAS
FM Antenna Amplifier
E48084

The AM/FM antennas are located in the rear side widows. On vehicles with the low line audio system the AM/FM antenna is located in the LH side screen. On vehicles with a high line audio system the audio system will be equipped with FM diversity tuning. This system ensures that the strongest of two signals is used by the radio system to ensure the best possible FM reception. The standard AM/FM antenna is screen mounted in the LH rear side window and is connected to an antenna amplifier located above the screen. The diversity system uses the same side window antenna and amplifier but also uses RH side screen.

TMC ANTENNA AMPLIFIER
E48087

The Traffic Message Channel (TMC) signals are received through the normal radio signals via the RDS network. The signals are routed separately form the radio signals via a separate antenna amplifier located on the LH rear side window.For additional information, refer to: Navigation System (419-07 Navigation System, Description and Operation).

GPS ANTENNA
E48086

The GPS antenna is located in the roof mounted pod, which is located in the center of the roof at the rear of the vehicle. The GPS antenna is connected to the navigation computer by a coaxial cable.For additional information, refer to: Navigation System (419-07 Navigation System, Description and Operation).

TV ANTENNA
TV Antenna Amplifier
E48088

Where a television system is specified there are four TV antenna elements two in each of the rear side windows. Each element has an antenna amplifier which is connected to the TV tuner module by a coaxial cable.For additional information, refer to: Video System (415-07 Video System, Description and Operation).

The TV RF antenna amplifiers are located just above the rear quarter light, behind the trim. The four TV antenna amplifiers boost the received RF signal before it is collected and processed by the TV tuner. The TV antennae can receive RF signals of between 48 and 860 MHz.

MULTIBAND TELEPHONE ANTENNA
Multiband Telephone Antenna
E48085

The multiband telephone antenna is located in the roof mounted pod, which is located in the center of the roof at the rear of the vehicle and is connected directly to the Telephone Control Module (TCM) via a single coaxial cable.For additional information, refer to: Cellular Phone (419-08 Cellular Phone, Description and Operation).

SATELLITE DIGITAL AUDIO RADIO SYSTEM (SDARS) ANTENNA (NAS ONLY)
SDARS antenna
E48085

The SDARS antenna is located in the roof mounted pod, which is located in the center of the roof at the rear of the vehicle. The SDARS antenna has two connections to the SDARS tuner, one for satellite transmissions the other for terrestrial transmissions from repeater stations.

The antenna comprises two antenna elements:

  • A printed dipole antenna for receiving satellite signals
  • A printed monopole antenna for receiving terrestrial signals

The two antennas allow the system to receive SDARS transmissions in built up areas where signals form satellites would normally be blocked. For additional information, refer to: Audio System (415-01 Audio Unit, Description and Operation).

VICS ANTENNAS (Japan only)
VICS Beacon Antenna
E48091

The VICS control module uses the rear RH side window antenna to receive VICS information. The Control module also uses an infra red beacon antenna located in the middle on top of the instrument panel adjacent to the sunlight sensor.