Published: 11-May-2011

2007.0 Range Rover Sport (LS), 303-00

Engine System - General Information

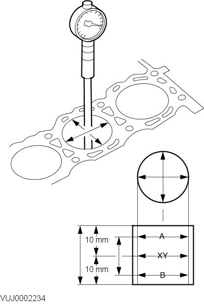
Cylinder Bore Out-of-Round (G61243)

GENERAL PROCEDURES
  1. NOTE:

    The main bearing caps or lower crankcase must be in place and tightened to the specified torque; however, the bearing shells should not be installed.

    J0002234
    Measure the cylinder bore with an internal micrometer.
      • Carry out the measurements in different directions and at different heights to determine if there is any out-of-roundness or tapering.
      • If the measurement is out of the specified range, hone out the cylinder block or install a new block.