Published: 11-May-2011

2007.0 Range Rover Sport (LS), 501-09

Rear View Mirrors (G427709)

DESCRIPTION AND OPERATION
COMPONENT LOCATIONS
NOTE:

right-hand drive (RHD) model shown, left-hand drive (LHD) model similar

E55483
 
ItemDescription
1Exterior mirror
2Exterior mirror control switch
3Interior mirror (auto-dimming version shown)
4Foldback module
5Washer jets/exterior mirrors heater relay
6Driver proximity mirror (Japan only)
GENERAL

Rear view mirrors consist of an interior mirror on the windshield, an exterior mirror on each front door cheater and, for the Japan market, a driver proximity mirror on the left front corner of the hood.

INTERIOR MIRROR
Manual Dimming Interior Mirror
E55485
Auto-Dimming Interior Mirror
E55484
 
ItemDescription
1Rear light sensor
2Front light sensor
Auto-Dimming Interior Mirror with Universal Transmitter
E43037
 
ItemDescription
1Universal transmitter channel 1 button
2Universal transmitter channel 2 button
3Status indicator
4Universal transmitter channel 3 button
5Rear light sensor
6Dimming on button
7Dimming off button
8Front light sensor

The interior mirror incorporates either manual or auto-dimming. Manual dimming is performed with a lever on the underside of the mirror body. Auto-dimming is performed by electrochromic mirror glass.

Depending on vehicle model and market, the auto-dimming interior mirror may also incorporate a HomeLink® universal transmitter.

NOTE:

HomeLink is a registered trademark owned by Johnson Controls Inc.

Interior mirrors with the universal transmitter and/or the auto-dimming functions are connected to the vehicle wiring by an electrical connector concealed by covers on the mounting stem. On vehicles with automatic windshield wipers and headlamps, the rain/light sensor is concealed by the covers.

When the ignition switch is in position II, a battery power feed from the central junction box (CJB) is supplied to the universal transmitter and/or auto-dimming circuits in the interior mirror.

Light sensors on the front and rear of the interior mirror provide light level inputs for the auto-dimming function.

Interior mirrors which incorporate the universal transmitter have buttons along the lower face for control of the universal transmitter and auto-dimming functions. They also have a dual colored status indicator on the rear of the mirror which illuminates when the auto-dimming and universal transmitter functions are active; green for auto-dimming and red for the universal transmitter.

Auto-Dimming

The auto-dimming interior mirror automatically dims to reduce glare from the headlights of following vehicles in dark or low light conditions. The auto-dimming function is only enabled while the ignition switch is in position II.

On interior mirrors with a universal transmitter, the auto-dimming function can be selected on and off using the appropriate buttons on the underside of the mirror. At the beginning of each ignition cycle the auto-dimming function defaults to on. The green status indicator is illuminated while the auto-dimming function is on.

On auto-dimming interior mirrors without a universal transmitter, the auto-dimming function is permanently on while the ignition switch is in position II.

When the auto-dimming function is on, the light sensor in the front of the mirror monitors ambient light at the front of the vehicle and the light sensor in the rear of the mirror monitors the light coming from behind the vehicle. When the light from behind the vehicle exceeds the ambient light level, the auto-dimming circuits darken the interior mirror. Dimming is inhibited when reverse gear is selected. The reverse gear signal is provided by a hardwired signal from the reverse relay in the CJB.

Universal Transmitter

WARNING:

The universal transmitter must not be used with any garage door that lacks a safety stop and reverse feature, as required by federal safety standards (this includes any garage or door opener model manufactured before April 1 1982). A garage door opener which cannot detect an object in the path of a closing door, and then automatically stop and reverse the door, does not meet current federal safety standards. Using a garage door opener without these features increases the risk of serious injury or death.

The universal transmitter can operate up to three home or office remotely operated systems (e.g. garage door/gate openers, lighting and security systems), replacing the individual hand held transmitters required for each system. The universal transmitter operates at radio frequencies from 288 to 419 MHz (excluding 322 to 335.4 MHz and 399.9 to 410 MHz).

The universal transmitter has three channels, with separate operating buttons for each channel. When one of the buttons is pressed the universal transmitter outputs the radio signal programmed for the related channel (if any) and illuminates the red status indicator to confirm transmission.

Hand held transmitters are programmed into the universal transmitter as follows:

WARNING:

When programming the universal transmitter in the vicinity of the affected system, the system will operate. If the system controls garage doors or gates, ensure they are clear of people and objects to prevent personal injury or damage to equipment.

  1. Turn the ignition switch to position II.
  2. Press and hold the outer two buttons of the universal transmitter until the red status indicator begins to flash, then release the buttons. This initializes the universal transmitter and erases previous settings from all three channels.
  3. Place the signal emitting end of the hand held transmitter against the underside of the interior mirror.
  4. Simultaneously press and hold the activation button on the hand held transmitter and the chosen button of the universal transmitter. When the red status indicator flashes rapidly, indicating the channel has been programmed, release the buttons (The red status indicator flashes slowly at first and can take up to a minute before it flashes rapidly).
  5. To program another channel on the universal transmitter, repeat steps C. and D.
  6. Turn the ignition switch to 0.

The radio signals used to operate some home/office systems incorporate a code protection feature. After a channel has been programmed from the hand held transmitter, these systems will need to be trained to accept the signal from the universal transmitter. To check if a system is code protected, press the appropriate universal transmitter button. If the red status indicator flashes rapidly for 1 to 2 seconds, before illuminating permanently, the system has a code protection feature.

The system is trained to the universal transmitter, as follows:

  1. Locate the training button on the receiver system (refer to the system's literature for details).
  2. Press the training button for 1 to 2 seconds, then perform step C. within 30 seconds.
  3. On the vehicle, press and release the appropriate universal transmitter button, twice. The receiver system should now be trained to the universal transmitter.
  4. If the system does not operate, repeat the procedure, but in step C. press and release the universal transmitter button three times.
EXTERIOR MIRRORS

The exterior mirrors on all models incorporate electrical heating and adjustment. Depending on vehicle model and market, the exterior mirrors may also incorporate mirror foldback, memory recall and reverse dipping.

On some vehicles, an approach lamp is integrated into the underside of the exterior mirror housing. For additional information, refer to: Exterior Lighting (417-01 Exterior Lighting, Description and Operation).

Heating

Exterior mirror heating is provided by heater elements bonded to the back of the mirror glass. The power supply to the heater elements is controlled by the automatic temperature control (ATC) module.

The windshield washer jet heaters and the exterior mirror heaters are permanently enabled while the ignition switch is in position II. The heaters are controlled by a 30 seconds period pulse width modulation (PWM) signal from the ATC module to the coil of the heated washer jets/exterior mirrors relay in the battery junction box (BJB). When the relay is energized, it connects a battery power feed to the heaters. To vary the time that power is applied to the heaters, the ATC module varies the on-time percentage of the PWM signal, depending on the ambient air temperature and the status of the windshield wipers. When the ignition switch is first turned to position II, the ATC module initially sets the on-time percentage of the PWM signal to 100%, for a time that varies with ambient air temperature. After the initial heating period, the on-time percentage varies according to the status of the windshield wipers.

Exterior Mirror Heating Percentage On-times

On-timesAmbient Air Temperature, °C (°F)
<-10 (<14)-10 to 0 (14 to 32)0 to 15 (32 to 59)15 to 25 (59 to 77)25 to 35 (77 to 95)>35 (>95)
Initial-100% for 3 minutes100% for 2 minutes100% for 1 minute100% for 1 minute-
Wipers Off100%75%50%25%0%0%
Wipers On100%100%75%50%25%0%

Adjustment

The exterior mirrors each incorporate two adjustment motors. One for horizontal (left/right) adjustment and one for vertical (up/down) adjustment. Operation of the motors is controlled by the exterior mirror control switch, which is installed on the mirror cheater of the driver door. Adjustment is enabled when the ignition switch is in position I or II.

The exterior mirror control switch is a combination rotary switch and joystick. Turning the switch left or right from the central position selects the respective exterior mirror to enable adjustment. Tilting the switch connects a power supply and ground to the appropriate adjustment motor to produce a corresponding movement of the mirror glass. When the switch is tilted in the opposite direction the polarity of the adjustment motor connections is reversed, to move the mirror glass in the opposite direction.

On vehicles with memory recall, the connections from the exterior mirror control switch to the adjustment motors are routed through the memory module. For additional information, refer to: Seats (501-10 Seating, Description and Operation).

Exterior Mirror Control Switch
E43038

Memory Recall

On vehicles with memory recall, each adjustment motor in the exterior mirrors incorporates a feedback potentiometer, which outputs a position signal to the memory module. The positions of the exterior mirrors, together with that of the driver seat, are stored in the memory module in two ways:

  • Manually, using the memory store and reset buttons.
  • Automatically, for the lazy entry feature, each time the ignition switch is turned from position II to position I.

When the ignition switch is in position I or II, pressing the memory store button (M), then pressing reset button 1, 2, or 3 within 5 seconds stores the current positions of the exterior mirrors and the driver seat in the memory module. A single chime sounds and a memory stored message appears in the message center to confirm that the operation was successful.

Stored positions can be recalled when the vehicle is either stationary or moving. When the vehicle is stationary, a momentary press of a memory reset button causes the exterior mirrors and driver seat to move to the positions stored against that button, provided the driver door is open or the ignition switch is in position I or II. When the stored positions are reached, a double chime sounds, and a memory recalled message appears in the message center, to confirm that the operation is complete. During transition to the stored positions, movement of the exterior mirrors stops immediately if the exterior mirror control switch is pressed (any direction).

To prevent inadvertent operation when the vehicle is in motion, the memory reset button must be pressed and held for the exterior mirrors to move.

During a memory recall, the memory module determines a mirror adjustment motor has stalled if there is no change in the signal from the related feedback potentiometer for more than 100 ms. If a stall condition is detected, the drive to the applicable adjustment motor is cancelled for the remainder of the memory recall operation. The adjustment motor can be activated again by pressing the exterior mirror switch in the appropriate direction until the required position is reached.

Each time the ignition switch is turned from position II to position I, the memory module automatically stores the positions of the exterior mirrors and driver seat, together with the identity of the ignition key. If the lazy entry feature is enabled, when a remote control is used to unlock the vehicle, the memory module compares the stored positions of the exterior mirrors and driver seat, for the associated ignition key, against the current positions. If necessary, the memory module then moves the exterior mirrors and driver seat to the stored positions. If the lock button on the remote control is pressed, during lazy entry movement of the exterior mirrors or driver seat, all movement stops immediately.

The locking status of the doors is transmitted to the memory module from the CJB on a LIN (local interconnect network) bus. The lazy entry feature can be enabled and disabled in the customer settings menu. For additional information, refer to: Instrument Cluster (413-01 Instrument Cluster, Description and Operation).

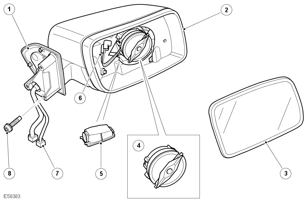
Exterior Mirror
E58383
 
ItemDescription
1Base frame
2Mirror body
3Mirror glass
4Vertical and horizontal adjustment motors
5Approach lamp
6Heating element Lucar connectors
7Electrical connectors C0319 and C1563
8Screw (x 3)

Reverse Dipping

On vehicles with memory recall, both of the exterior mirrors automatically dip when the ignition switch is in position II and reverse gear is selected. When the gearshift lever moves out of reverse the exterior mirrors return to their original positions. The reverse dipping function is controlled by the memory module.

Initially, the dipped positions are default values programmed into the memory module for each ignition key. If, while reverse gear is selected, the exterior mirrors are adjusted and then a memory store sequence is initiated, the default positions are overwritten with the new dipped positions for that particular memory setting. The new dipped positions are then recalled the next time that reverse gear is selected with that particular ignition key in use. Storing the exterior mirror positions with reverse gear selected only affects the dipped positions, the remainder of the memory positions are unchanged.

When reverse gear is selected there is time delay of approximately 0.5 second before the exterior mirrors move to the dipped position. The time delay prevents nuisance movement of the exterior mirrors when the gearshift lever moves from Park to Drive.

The reverse dipping feature can be enabled and disabled in the customer settings menu. For additional information, refer to: Instrument Cluster (413-01 Instrument Cluster, Description and Operation).

Foldback

Exterior mirrors with the foldback feature incorporate a foldback motor in the hinge of each exterior mirror. Operation of the foldback motor is controlled by the exterior mirror control switch and the foldback module.

The foldback module is installed immediately outboard of the CJB, and controls power and ground connections to the foldback motors.

When the exterior mirror control switch is in the center (off) position, tilting the switch down connects a ground to the foldback module. When it senses the ground signal for the first time, the foldback module connects a power supply and a ground to the foldback motors to turn the exterior mirrors inwards. Tilting the switch down again causes the foldback module to reverse the polarity of the connections to the foldback motors, and the motors turn the exterior mirrors outwards. If the switch is operated while the exterior mirrors are moving, they stop and reverse direction until they reach their original position. If one of the exterior mirrors has been manually folded, they can be re-synchronized by an inward and outward operating cycle.

To prevent the foldback motors from overheating, the foldback function is disabled for 3 minutes if the mirror foldback function is selected ten times within 60 seconds. On the tenth selection within 60 seconds, the exterior mirrors will only unfold; if the selection is for the exterior mirrors to fold, the selection is ignored.

Foldback Module Harness Connector C0907
E43040

Foldback Module Harness Connector C0907 Pin Details

Pin No.DescriptionInput/Output
1Foldback motor positive/negativeInput/Output
2Foldback signal from exterior mirror control switchInput
3Foldback motor positive/negativeInput/Output
4Power supply from fuse 16 of CJBInput
5System groundOutput
6 and 7Not used-
DRIVER PROXIMITY MIRROR (JAPAN ONLY)
E55740

The driver proximity mirror allows the driver to see into the 'blind spots' below the level of the hood during low speed maneuvering. The mirror is manufactured in black plastic and consists of a lense housing mounted on a pivot arm, which is attached to the hood. Two lenses in the housing provide coverage across the front and along the left-hand (LH) side of the vehicle. The mirror can be manually adjusted in the horizontal plane only.

REAR VIEW MIRRORS CONTROL DIAGRAM (NON MEMORY)
NOTE:

A = Hardwired connection; N = Medium speed controller area network (CAN) bus

E43546
 
ItemDescription
1Ignition switch
2Wiper switch
3CJB
4ATC module
5Ambient temperature sensor
6Washer jets/exterior mirrors heater relay
7Fuse 16E, BJB
8Right exterior mirror
9Exterior mirror control switch
10Left exterior mirror
11Foldback module
12Fuse 16P, CJB (battery feed)
13Interior mirror
14Fuse 5P, CJB (from reverse relay)
15Fuse 69P, CJB (ignition feed)
16Fuse 33P, CJB (auxiliary feed)
REAR VIEW MIRRORS CONTROL DIAGRAM (MEMORY)
NOTE:

A = Hardwired connection; N = Medium speed CAN bus; O = LIN bus

E43547
 
ItemDescription
1Ignition switch
2Wiper switch
3CJB
4Fuse 46P, CJB (battery feed)
5Driver seat memory switchpack
6Ambient temperature sensor
7ATC module
8Washer jets/exterior mirrors heater relay
9Fuse 16E, BJB
10Memory module
11Left exterior mirror
12Right exterior mirror
13Foldback module
14Fuse 16 P, BJB (battery feed)
15Interior mirror
16Fuse 5P, CJB (from reverse relay)
17Exterior mirror control switch
18Fuse 69P, CJB (ignition feed)
19Fuse 33P, CJB (auxiliary feed)