Published: 11-May-2011

2007.0 Range Rover Sport (LS), 205-01

Driveshaft (G427424)

DESCRIPTION AND OPERATION
Drive shaft Component Location
E56469
 
ItemDescription
1Front drive shaft
2Rear drive shaft
GENERAL

Drive shafts are used to transmit drive from the transfer box to the front and rear differentials.

The front drive shaft is a one-piece unit, connected to the transfer box and front differential unit via Constant Velocity (CV) joints.

The rear drive shaft is a two-piece unit, supported on a central bearing due to its increased length. The rear drive shaft is connected to the transfer box via a CV joint and the rear differential with a universal joint. These joints allow for angular deviations of the drive shaft due to acceleration and braking.

The front and rear drive shafts are not serviceable items and a failure will require the replacement of the complete drive shaft assembly.

FRONT DRIVE SHAFT
E46305
 
ItemDescription
1CV joint
2Front drive shaft

The front drive shaft is constructed from 1.7 mm wall tubular steel. A CV joint is attached to each end of the drive shaft (see 'Halfshaft Joint' section for more information on CV joints).

Each CV joint has six holes, which allow for attachment to the input flange of the front differential and the front output flange of the transfer box. The CV joints are secured to the front differential and transfer box with six Torx head adhesive retained bolts.

Three compression link washers are fitted under each pair of bolts. The washers are required to prevent compression of the CV joints attachment flange.

A shroud is pressed over the CV joint. The shroud seals to the joint body using an internal gasket and to the front output flange of the transfer box using an end cap and internal gasket. This prevents the ingress of dirt and moisture. The CV joints allow for movement of the drive shaft caused by small movements in the transmission and transfer box mountings.

REAR DRIVE SHAFT ASSEMBLY
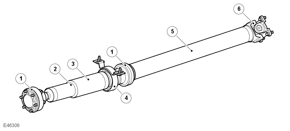
E46306
 
ItemDescription
1CV joints
2Collapsible crash section
3Front shaft assembly
4Support bearing
5Rear shaft assembly
6Universal joint

The rear drive shaft assembly comprises front and rear shaft assemblies and a centrally mounted shaft bearing.

Front Shaft Assembly

The front shaft assembly incorporates a crash feature within the tube, which controls the collapse of the drive shaft during a crash.

The front shaft assembly comprises a CV joint at each end (see 'Halfshaft Joint' section for more information on CV joints).

The front CV joint (transfer box end) has six radial holes, which provide for the attachment to the transfer box rear output flange. The joint is secured to the output flange with six torx bolts, which screw into threaded holes in the flange. Three compression link washers are fitted under each pair of bolts. The rear splined shaft mates with splines in the rear shaft CV joint hub and is pressed in and fixed with Locktite. A machined surface on the shaft accepts the shaft bearing, which is a press fit.

Rear Shaft Assembly

The rear shaft assembly comprises a Hookes type universal joint at the rear (rear differential end).

The universal joint is welded to the rear shaft tube and is secured to the input shaft of the rear differential with four flanged nuts. The opposite end of the rear shaft tube is welded directly to the CV joint body.

Shaft Bearing Assembly

The shaft bearing assembly comprises a pressed steel housing, a rubber diaphragm and a ball bearing. The diaphragm is bonded into the housing. An internal metal ring, bonded to the bush, allows for the bearing to be press fitted into it. The rubber bush allows for small deviations in alignment and also absorbs vibrational forces. The shaft bearing assembly is located by screws, which pass through plain holes in the bearing assembly and locate into nuts welded on the inside face of the chassis cross-member.