Published: 25-Aug-2022

2007.0 Range Rover Sport (LS), 418-02

Wiring Harnesses

Wiring Harness (G1823735)

DESCRIPTION AND OPERATION
1. Introduction

Use the table below to identify the type of wiring harness or section.

Harness TypeRepair Y/NCable repairsConnector repairsLimitationsSectionComments
Controller Area Network (CAN)YYYNone2.1.1 
FlexRayYYYNone2.1.2 
BroadR-Reach®YYYNone2.1.3 
Radio Frequency (RF) harnessYYYNone2.2 
Local Interconnect Network (LIN) busYYYNone2.3 
Co-axialYYYNone2.4 
National Television System Committee (NTSC)YYYNone2.5Video signals used on NAS vehicles.
Low Voltage Differential Signal (LVDS)YYYNone2.6Video signals used on ROW vehicles
Serial communicationYYYNone2.7 
Pulse Width Modulated (PWM)YYYNone2.8 
Universal Serial BusYYYNone2.9 
Electric Vehicle (EV) High voltageNNN 2.18 Currently no repairs to orange colored High Voltage (HV) cables
EV High voltage 3 PhaseNNN 2.18 Currently no repairs to orange colored HV cables
48V Mild Hybrid Electric Vehicle (MHEV)NNN 2.19 currently no repairs to 48V MHEV cables (light Blue)
Automotive Pixel Link 2(APIX2)YYY 2.10 
High Voltage Interlock LoopYYY 2.11 
Battery Monitoring Sensor (BMS) fusible linkNNNThis must be replaced2.12 
Media Oriented System Transport (MOST)/fiber opticYYY 2.13 
Air Suspension OverlayYYY 2.14 
Supplementary Restraint System (SRS)YYY 2.15 
Pedestrian protectionNNN  Harness/components must be replaced
Throttle control circuitsNNN  Harness/components must be replaced
Speed control circuits (cruise control)NNN  Harness/components must be replaced
ABSYYY  ABS circuits can be repaired with overlays.
12V MHEVYYY 2.16 
Low Voltage 3 PhaseYYYY2.17 

Repairs

Section TitleSectionComments
Harness repairs2 
Electrical connector probing3.1 
Pin drag test3.2Not allowed
Grommets3.3 
Cable clips3.4 
Wiring harness repairs4 
Approved Electrical Wiring Harness Repair Methods4.1 
Splice repairs4.2 
Harness repair Procedure4.3 
Electrical Wiring Harness Repair Components4.4 
Wiring Harness repair4.5 
2. Harness repairs

2.0 General procedures

The following procedures should be followed for all harness repairs.

2.01 Approved probing and repair methods

The purpose of this document is to identify the approved methods to promote an effective and efficient diagnosis and minor repair to the:

  • Permitted electrical wiring harnesses, connectors and cables
    • See Electrical Wiring Harness Repair - section 4.1
  • Media Oriented System Transport (MOST) network harnesses, connectors and fiber optic cables
    • See MOST Network Harness Repair - section 2.13.

2.02 Replacement Repair Equipment

The repair processes in the following information identifies specific repair equipment needed to complete a repair to the required standard.

Replacement repair equipment can be ordered from the equipment workshop website:

http://jlrequipment.service-solutions.com

2.1 Twisted wire harnesses

It is important to make sure that the number of turns over the repair length is counted at the start of the repair. Make sure that the same number of turns are reintroduced before fitting the terminals into the connector. If the original number of turns cannot be reintroduced on a twisted wire, the following dimensions must not be exceeded.

It is important to maintain the correct number of twists per meter. It is suggested that the number of twists are counted over a set length. For example, if there are 50 twists/m, count the number of twists over 10cm (3.94 inches) of a representative section of the cable. This is to confirm that the number of twists is enough.

For a cable that has 50 twists/m, each twist is taking 2 cm (0.79 inches). Therefore, in 10 cm there will be at least 5 complete twists to consider that the twisting is acceptable. It is also important to compare the rest of the cable to confirm it visually has the same twisting.

The length of an untwisted part of a harness includes both ends. The image below shows untwisted sections and an indication of 1 twist.

E270482
 
ItemDescription
AUntwisted section
BTwisted section
C1 twist

2.1.1 Controller Area Network

The following details the repairs for a CAN harness. The CAN has twisted wires.

For aCAN harness, the maximum length of untwisted wire is 150 mm (5.9 inch).

Follow the repair procedure as in section 4 of this document.

2.1.2 FlexRay

The following details the repairs for a FlexRay harness. The FlexRay has twisted wires.

For a FlexRay harness, the maximum length of untwisted wire is 60 mm (2.3 inch).

Follow the repair procedure as in section 4 of this document.

2.1.3 BroadR-Reach®

The following details the repairs for a BroadR-Reach® harness. The BroadR-Reach® has twisted wires.

For a BroadR-Reach® harness, the maximum length of untwisted wire is 50 mm (2.0 inch).

Follow the repair procedure as in section 4 of this document.

2.2 Radio Frequency harness

Follow the repair procedure as in section 4 of this document.

2.3 Local Interconnect Network bus

Follow the repair procedure as in section 4 of this document.

2.4 Co-axial

Usually a connection from an antenna to an antenna amplifier.

Follow the repair procedure as in section 4 of this document.

2.5 National Television System Committee

National Television System Committee (NTSC) is a video standard for NAS vehicles

Follow the repair procedure as in section 4 of this document.

2.6 Low Voltage Differential Signal

Low Voltage Differential Signal (LVDS) is a video signal for ROW vehicles.

Follow the repair procedure as in section 4 of this document.

2.7 Serial communication

Follow the repair procedure as in section 4 of this document.

2.8 Pulse Width Modulation

Follow the repair procedure as in section 4 of this document.

2.9 Universal Serial Bus

Follow the repair procedure as in section 4 of this document.

2.10 Automotive Pixel Link 2

Audio/video connection. APIX2 is used for signals between the Infotainment system and the Instrument Panel Cluster Control Module (IPC) and Head Up Display (HUD).

Follow the repair procedure as in section 4 of this document.

2.11 High Voltage Interlock Loop

A safety system in EV and Plug-in Hybrid Electric Vehicle (PHEV). prevents the system being powered up if a HV cable or harness is disconnected.

Follow the repair procedure as in section 4 of this document.

2.12 Battery Monitoring System Fusible Link

NOTE:

Under no circumstances is a piece of standard wire to be used to effect the fusible link repair.

The BMS fusible link must be replaced, repairs are not to be performed on the fusible link.

If the fusible link ruptures then the source of the fault must be diagnosed and rectified first. The fusible link is then to be replaced using the authorized service repair kit (part number LR057241). The fusible link must be spliced into the affected lead/circuit using the approved sealed inline splice repair technique. See section 4 wire only repair procedure.

Refer to the Electronic Parts Catalogue (EPC) for available components. Stock check required.

2.13 Media Oriented System Transport Network Harness Repair

The MOST connector(s) have an anti-backout device which prevents the contact from being released from the connector. The anti-backout device must be released before attempting to remove the terminal from the connector. The anti-backout devices require a special tip to release the device. Please refer to the Electrical Reference Library (ERL) for the correct tool(s) to use.

The illustration shows an example of a common style of extraction tool being used on a MOST connector(s). Care should be exercised to avoid further damage when removing the terminals from the connector.

CAUTIONS:
  • Before releasing the fiber optic cable from the connector housing, mark the IN/OUT assignment of the fiber optic cable.

  • Make sure a protective cap is installed on all disconnected MOST connectors and fiber optic cables. The protective cap prevents contamination and damage to the exposed end faces of the fiber optic cable.

MOST Connector Terminal Extraction
E176723
MOST Harness Repair Process
E176550
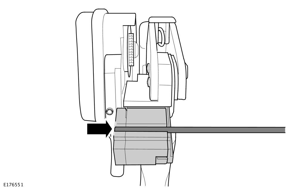
  1. Confirm the length of fiber optic conductor lead required to create a new fiber optic cable. Cut the fiber optic conductor lead to the required length using the fiber optic cable cutter.
E176551
  1. Open the fiber optic conductor stripper jaws and insert the fiber optic conductor lead up to the edge of the jaws.
E176552
  1. Close the fiber optic conductor stripper jaws (1) and carefully pull the fiber optic conductor lead (2) to remove the protective casing.
E176558
    NOTE:

    Make sure the protective casing of the fiber optic conductor lead sits against the fiber optic conductor cutter jaw stop.

  1. Open the fiber optic conductor stripper jaws and insert the fiber optic conductor lead fully into the fiber optic conductor cutter slot. Close the fiber optic conductor stripper jaws.
E176553
  1. Pull the fiber optic conductor core cutter lever (1) to move the cutting wheel (2) and cut the fiber optic conductor core.
    NOTE:

    The end of the fiber optic core has now been prepared for the fitting of a brass contact.

  1. Open the fiber optic conductor stripper jaws and remove the fiber optic conductor lead.
    NOTE:

    Make sure the fiber optic conductor core end remains clean at all times.

  1. Place fiber optic conductor stripper and fiber optic conductor lead to 1 side.
  1. Open the fiber optic conductor contact pliers and reposition the conductor contact locking arm to the open position.
E176554
    NOTE:

    Make sure the locking arm locates on the retaining pin when in the closed position.

  1. Insert a conductor contact (1) into the fiber optic conductor contact crimping jaws and reposition the conductor contact locking arm to the closed position (2).
E176555
  1. Insert the prepared end of the fiber optic conductor lead into the conductor contact.
    CAUTION:

    Make sure the fiber optic conductor lead is pushed in and held against the spring loaded stop when closing the fiber optic conductor contact pliers. This sets the core to the correct depth in the brass connector. Failure to follow this instruction may result in the fiber optic conductor cable malfunctioning.

  1. Push the fiber optic conductor lead fully into the conductor contact and close the fiber optic conductor contact pliers.
  1. Open the fiber optic conductor contact pliers and reposition the conductor contact locking arm to the open position.
  1. Remove the fiber optic conductor cable from fiber optic conductor contact pliers.
  1. Place fiber optic conductor contact pliers to 1 side.
E176556
    CAUTION:

    Make sure the conductor contact has been correctly installed to the fiber optic conductor core. Failure to follow this instruction may result in the fiber optic cable malfunctioning.

    NOTES:
    • The fiber optic core end must sit 0.01 mm (0.00039 inch) to 0.1 mm (0.0039 inch) below the height of the conductor contact end.

    • Make sure the fiber optic conductor contact remains clean at all times.

  1. Visually inspect the conductor contact for correct installation to the fiber optic core.
      • Make sure the conductor contact has been visibly crimped at 4 points.
      • Pull the conductor contact by hand to make sure it is secure.
      • Make sure the end of the fiber optic core sits below the height of the new conductor contact end.
      • Install a fiber optic conductor contact protective cap.
  1. Repeat steps 2 to 15 and install a conductor contact to the opposite end of the fiber optic conductor cable.
  1. Measure between the conductor contact ends of the new fiber optic cable. Using a suitable tool cut a length of new protective corrugated tubing to the required length.
E176557
  1. Install the fiber optic cable into the corrugated tubing.
    1. Place the fiber optic cable inside the fiber optic conductor cable installation pliers.
    2. Insert the fiber optic conductor cable installation pliers into the corrugated tubing.
    3. Move the fiber optic conductor cable installation pliers down the length of corrugated tubing and install the fiber optic cable.
2.13.1 MOST Network Harness Repair

If a fiber optic cable is damaged, it must not be repaired and must be replaced with a new cable.

Replacement fiber optic cables can only be made using the approved repair equipment and components.

The approved repair kit contains the specially designed fiber optic conductor strippers. The cutters are used to prepare 2.3 mm (0.09 inch) fiber optic cable for the installation of the brass fiber optic conductor contact. The fiber optic conductor contact crimping pliers must then used be used to crimp the brass contact to the fiber optic conductor core. The approved crimping pliers supply the appropriate pressure to the brass contact to make a secure contact, but not damage the conductor core.

The cut face of the fiber optic core must be protected from damage and contamination at all times.

CAUTION:

Fiber optic cables have a maximum bending radius 25 mm (0.98 inch) and must not be kinked or excessively bent.

The performance of fiber optic cables is very dependant upon the quality of the cut surface at connections and to the bending radius of the cables.

2.13.2 MOST Harness Repair Components and Tools

List of Parts

NOTE:

Repair components can be ordered through the Jaguar Land Rover (JLR) parts ordering system.

DescriptionPart NumberQuantity
Fiber Optic Conductor Lead418-6761
Fiber Optic Conductor Contact418-67720
Fiber Optic Conductor Contact Protective Cap418-67820
Fiber Optic Conductor Lead Connector - Inner418-67910
Fiber Optic Conductor Lead Connector - Outer418-68010
MOST Module Protective Cap418-68120
Fiber Optic Conductor Lead Connector Protective Cap418-68220
Fiber Optic Conductor Stripper
E176559
Fiber Optic Conductor Stripper Jaw Positions
E176549
1Fiber Optic Cable Cutter
2Fiber Optic Cable Insulation Stripper
3Fiber Optic Core Cutter
Fiber Optic Core Cutter Locking Screw
E176547

The fiber optic core cutter has a locking screw to protect the cutter wheel when in transit or not in use. A hexagonal key is supplied in the MOST repair kit to release the locking screw.

NOTE:

Tighten the transportation locking screw after use.

Fiber Optic Core Cutter Remaining Cut Indicator
E176548

The fiber optic core cutter can be used for approximately 1260 cuts. The indicator line on the remaining cut indicator window only becomes visible when the fiber optic core cutter has 150 cuts or below available.

NOTE:

When the fiber optic core cutter has reached the maximum allowed cuts, the cutter will become locked and the fiber optic conductor stripper must then be renewed.

Before using the fiber optic conductor core cutter, make sure it has enough cuts remaining to complete the repair process by viewing the remaining cut indicator.

Fiber Optic Conductor Contact Crimping Pliers
E176560

A small amount of effort is required to operate the fiber optic conductor contact crimping pliers and secure a fiber optic conductor contact to the fiber optic conductor core.

The new fiber optic conductor contact is placed into the cramping mechanism in the head of the pliers. The locking arm is repositioned to hold the conductor contact securely in position. The locking arm must locate on to the retaining pin.

The prepared end of the fiber optic core is then inserted into the new conductor contact.

The fiber optic core and conductor contact must be pushed and held against the spring pressure in the cramping mechanism. The grips of the fiber optic conductor contact crimping pliers are then be closed, cramping the conductor contact to the conductor core.

NOTES:
  • Only use the approved fiber optic conductor contact crimping pliers to cramp a new conductor contact.

  • A conductor contact must only be cramped when using the fiber optic conductor contact crimping pliers.

The cramping mechanism inside the head applies the appropriate pressure to the conductor contact at 4 points. This makes a secure contact and does not damage the conductor core.

E176556

When the new conductor contact has been cramped to the fiber optic core do the following. Make sure the fiber optic core end sits 0.01 mm (0.00039 inch) to 0.1 mm (0.0039 inch) below the height of the conductor contact end.

NOTE:

Make sure the fiber optic conductor lead contact remains clean and protected at all times. Install a fiber optic conductor contact protective cap.

MOST Repair Tools

NOTE:

Replacement repair equipment can be ordered from the equipment workshop website; refer to the Replacement Repair Equipment in the Introduction section.

DescriptionPart NumberQuantity
MOST Repair Kit418-6731
Fiber Optic Conductor Stripper418-6741
Fiber Optic Conductor Contact Crimping Pliers418-6751
Fiber Optic Conductor Lead Installation Pliers418-6832

2.13.3 MOST Harness Repair Procedure

The MOST connector(s) have an anti-backout device which prevents the contact from being released from the connector. The anti-backout device must be released before attempting to remove the terminal from the connector. The anti-backout devices require a special tip to release the device. Please refer to the ERL for the correct tool(s) to use.

The illustration shows an example of a common style of extraction tool being used on a MOST connector(s). Care should be exercised to avoid further damage when removing the terminals from the connector.

CAUTIONS:
  • Before releasing the fiber optic cable from the connector housing, mark the IN/OUT assignment of the fiber optic cable.

  • Make sure a protective cap is installed on all disconnected MOST connectors and fiber optic cables. The protective cap prevents contamination and damage to the exposed end faces of the fiber optic cable.

MOST Connector Terminal Extraction
E176723
MOST Harness Repair Process
E176550
  1. Confirm the length of fiber optic conductor lead required to create a new fiber optic cable. Cut the fiber optic conductor lead to the required length using the fiber optic cable cutter.
E176551
  1. Open the fiber optic conductor stripper jaws and insert the fiber optic conductor lead up to the edge of the jaws.
E176552
  1. Close the fiber optic conductor stripper jaws (1) and carefully pull the fiber optic conductor lead (2) to remove the protective casing.
E176558
    NOTE:

    Make sure the protective casing of the fiber optic conductor lead sits against the fiber optic conductor cutter jaw stop.

  1. Open the fiber optic conductor stripper jaws and insert the fiber optic conductor lead fully into the fiber optic conductor cutter slot. Close the fiber optic conductor stripper jaws.
E176553
  1. Pull the fiber optic conductor core cutter lever (1) to move the cutting wheel (2) and cut the fiber optic conductor core.
    NOTE:

    The end of the fiber optic core has now been prepared for the fitting of a brass contact.

  1. Open the fiber optic conductor stripper jaws and remove the fiber optic conductor lead.
    NOTE:

    Make sure the fiber optic conductor core end remains clean at all times.

  1. Place fiber optic conductor stripper and fiber optic conductor lead to 1 side.
  1. Open the fiber optic conductor contact pliers and reposition the conductor contact locking arm to the open position.
E176554
    NOTE:

    Make sure the locking arm locates on the retaining pin when in the closed position.

  1. Insert a onductor contact (1) into the fiber optic conductor contact crimping jaws and reposition the conductor contact locking arm to the closed position (2).
E176555
  1. Insert the prepared end of the fiber optic conductor lead into the conductor contact.
    CAUTION:

    Make sure the fiber optic conductor lead is pushed in and held against the spring loaded stop when closing the fiber optic conductor contact pliers. This sets the core to the correct depth in the brass connector. Failure to follow this instruction may result in the fiber optic conductor cable malfunctioning.

  1. Push the fiber optic conductor lead fully into the conductor contact and close the fiber optic conductor contact pliers.
  1. Open the fiber optic conductor contact pliers and reposition the conductor contact locking arm to the open position.
  1. Remove the fiber optic conductor cable from fiber optic conductor contact pliers.
  1. Place fiber optic conductor contact pliers to 1 side.
E176556
    CAUTION:

    Make sure the conductor contact has been correctly installed to the fiber optic conductor core. Failure to follow this instruction may result in the fiber optic cable malfunctioning.

    NOTES:
    • The fiber optic core end must sit 0.01 mm (0.00039 inch) to 0.1 mm (0.0039 inch) below the height of the conductor contact end.

    • Make sure the fiber optic conductor contact remains clean at all times.

  1. Visually inspect the conductor contact for correct installation to the fiber optic core.
      • Make sure the conductor contact has been visibly crimped at 4 points.
      • Pull the conductor contact by hand to make sure it is secure.
      • Make sure the end of the fiber optic core sits below the height of the new conductor contact end.
      • Install a fiber optic conductor contact protective cap.
  1. Repeat steps 2 to 15 and install a conductor contact to the opposite end of the fiber optic conductor cable.
  1. Measure between the conductor contact ends of the new fiber optic cable. Using a suitable tool cut a length of new protective corrugated tubing to the required length.
E176557
  1. Install the fiber optic cable into the corrugated tubing.
    1. Place the fiber optic cable inside the fiber optic conductor cable installation pliers.
    2. Insert the fiber optic conductor cable installation pliers into the corrugated tubing.
    3. Move the fiber optic conductor cable installation pliers down the length of corrugated tubing and install the fiber optic cable.

2.14 Air suspension overlay

NOTES:
  • This repair applies to L320/LS, L405/LG and L494/LW models only.

  • Some variation in the illustrations may occur, but the essential information is always correct.

If after diagnosis the height sensor requires replacement and the area of wiring damage is localized to the height sensor connector, this overlay harness should be used,

1. Disconnect the battery ground cable. For additional information, refer to Workshop manual section 414-00, Specifications - Battery Disconnect/Connect.

2. Disconnect the damaged height sensor electrical connector.

E78443

3. Unclip a sufficient length of the wiring harness to allow easy access during the repair.

E78444

4. Remove the wiring harness insulation as required.

NOTES:
  • It is advisable to cut only 1 of the wires at a time and to stagger each joint to allow easier insulation.

  • The colours of the overlay harness may vary.

5. Cut the wire on the vehicle harness leading to cavity 1 of the height sensor connector in a suitable position. Then remove 10 mm (0.39 inch) of insulation. For connector location and pin identification, refer to the relevant connector:

  • L320 - C1696/7/8/9
  • L405/L494 - C1CD10/11/12/13

In the Connector Details section of the relevant Electrical Library.

E78427

6. Slide over this wire a section of heat shrink sleeving.

E78428

7. Using the inline connector supplied and the correct crimping tool set to the correct jaw size from the harness repair kit, crimp the connector to the wire.

NOTE:

The overlay harness should be cut so that there is no additional length added to the overall length after repair.

8. Select the appropriate wire on the overlay harness that also goes to cavity 1 of the new connector. Cut the wire to the correct length and remove 10 mm (0.39 inch) of insulation.

E78429

9. Insert the overlay wire into the connector and crimp in place.

CAUTION:

Care must be taken when using the hot air applicator to avoid damage to surrounding areas.

10. Slide the heatshrink over the connector and using a hot air applicator carefully apply the heat until the glue appears at both ends.

E78430

11. Do the same process for the wires in cavities 4 and 5 of the connector. For connector location and pin identification, refer to the relevant connector:

  • L320 - C1696/7/8/9
  • L405/L494 - C1CD10/11/12/13

In the Connector Details section of the relevant Electrical Library.

12. Discard the damaged connector/section of the harness.

13. Add suitable harness repair tape to the repaired area to within 10 mm (0.39 inch) of the new connector to complete the repair.

E78431

14. Correctly route/secure the harness and connect the new connector to the height sensor.

15. Connect the battery ground cable. For additional information, refer to Workshop manual section 414-00, Specifications - Battery Disconnect/Connect.

16. Clear any Diagnostic Trouble Codes (DTC) set in the Chassis Control Module (CHCM) using JLR approved diagnostic equipment and confirm correct operation of the system.

2.15 Supplementary Restraint System

WARNING:

Do not use any vehicle with damage to the supplementary restraint system components or wiring harness.

CAUTION:

All supplementary restraint system wiring harness repairs must be completed using the recommended pre-terminated leads, overlays and the approved repair kit only.

The wiring used for a SRS firing circuit repair must be 0.5 mm² (0.00078 inch²) cross sectional area. Replace Both the affected male and female terminals in the connector using pre-terminated leads. Installation of SRS connectors, cut the wiring harness at a suitable point as close as possible to the damaged connector (destroy the removed connector). Identify the correct new connector from the SRS firing circuit wiring harness repair kit or recommended overlay and cut to a suitable length. Install to the SRS firing circuit wiring harness using the connecting splices supplied and a replaced pre-terminated lead which can be identified from the ERL wire chart information.

Follow the repair procedure detailed above, taking into account the staggering of connecting splices and the number of twists. The whole repair should then be covered with yellow heat shrink sleeve supplied to act as SRS firing circuit wiring repair location/identification. The repair authentication label must be completed by the authorized technician conducting the repair and approved by their supervisor. The label must then be secured around the harness adjacent to or at a suitable point as close as possible to the location of the repair.

Care and neatness are essential requirements in making a perfect repair.

2.16 12V Mild Hybrid Electric Vehicle

Follow the repair procedure as in section 4 of this document.

2.17 Low Voltage 3 Phase

Follow the repair procedure as in section 4 of this document.

2.18 High Voltage cables and harnesses

Currently there are no repairs allowed to the HV cables and harnesses. These cables and harnesses have an ORANGE covering.

If a HV battery cable or harness is damaged, it must be replaced, not repaired.

2.19 Mild Hybrid Electric Vehicle

Currently there are no repairs allowed to the MHEV cables and harnesses. These cables and harnesses have an LIGHT BLUE covering.

If a 48V MHEV battery cable or harness is damaged, it must be replaced, not repaired.

3. Testing

3.1 Electrical connector probing

The following sections identify the approved method for electrical connector probing.

3.11 Electrical Connector Probing

Only 2 methods of electrical connector probing are allowed.

Method 1. Probing at the rear of unsealed electrical connectors (see illustration E190832).

Method 2. Probing on the conductor crimp of an extracted terminal (see illustration E190928).

  • The conductor crimp is the portion crimped to the non-insulated wire.
  • This method may be used on sealed or unsealed connectors, but method 1 is preferred for unsealed connectors.
CAUTIONS:
  • A suitable sized probe must be used. If the probe is larger than the electrical connector aperture, then damage to the electrical connector will occur.

  • The probe must only be inserted into the rear of the electrical connector for a distance sufficient to contact the terminal.

  • Take care not to bend or distort any part of the metal terminal wire crimp area with the probe.

  • Before extracting any terminals, refer to the Electrical Connector Terminal Extraction and Extraction Tools sections of this document for more information.

  • Probing must not be done on: either the connector contact area or the portion of the terminal that is crimped to the insulated part of the wire.

  • Make sure the terminal is correctly and securely located in the electrical connector after re-installation.

Method 1
E190832
Method 2
E190928

The following 2 methods of electrical connector probing are not allowed.

Method 1. Probing at the rear of sealed electrical connectors (see illustration E190926).

Method 2. Probing at the electrical connector contact area (see illustration E190927).

Method 1
E190926
Method 2
E190927

3.12 Live Probing on Sealed Connectors

WARNINGS:
  • This procedure must never be done on any of the following. Failure to follow this instruction may result in personal injury;

    • SRS
    • Pedestrian protection system
    • Throttle Control circuits
    • Speed Control circuits
    • Link lead assembles, which are unique to safety critical circuits such as Anti-Lock Brake System Control Module (ABS) and thermocouple circuits. An example of this is the ABS wheel speed sensors with molded connectors
  • This procedure must only be done on wire with a cross sectional area of 0.5 mm squared or less.

CAUTIONS:
  • The link lead used in this procedure must have a cross sectional area of at least 0.5 mm squared.

  • The battery ground cable must be disconnected before any electrical connectors are disconnected / reconnected.

E195456
  1. Disconnect the battery ground cable.
  2. CAUTION:

    Before extracting any terminals, refer to the Electrical Connector Terminal Extraction and Extraction Tools sections of this document for more information.

    Extract the terminal to be tested from the electrical connector
  3. Insert a substitute wire with the same terminal and cross sectional area of the previously extracted wire, into the vacated position of the electrical connector.
  4. CAUTION:

    The link lead clip must only be attached to the portion of the extracted terminal that is crimped directly to the section of non-insulated wire.

    Attach 1 end of the link lead to the original wire terminal.
  5. CAUTION:

    The link lead clip must only be attached to the non-insulated section of the wire.

    Attach the remaining end of the link lead to the substitute wire.
  6. Reconnect the electrical connector.
  7. Reconnect the battery ground cable and begin the test.

3.2 Pin Drag Test

This is not allowed.

3.3 Grommets

Grommets - repair/replacement and additional circuits

Solid (over moulded) grommets are non-repairable and must be replaced by the installation of a new harness. Grommets with plastic inserts for panel retention – the inserts can be removed and replaced where necessary.

EPDM (Rubber) grommets: if the grommet is damaged then a 1 off attempt to repair with a suitable automotive grade silicon sealant is allowed. When the repair is completed, test for leaks (noise/fumes/water). If this fails to seal then the harness must be replaced.

If any vehicle accessories are added that require additional wires/circuits to pass through a sealed grommet then these must be routed through the service nipple. The service nipple must then be sealed using a suitable automotive grade silicon sealant and secured as shown below.

Rubber Grommet With Service Nipple
E263082
 
ItemDescription
1Location to cut
2Secure with cable tie
3Grommet
4Existing harness

3.4 Harness/cable clips

Clip/Fixing repair/replacement

The following applies to 12V applications

When doing any Electrical Distribution System (EDS) repairs or investigating vehicle faults/failures the following guidelines must be followed:

  • Broken clips and fixings must be replaced
  • Damaged/worn clips and fixings that could fail in service must be replaced
  • When a harness is removed to facilitate vehicle/powertrain strip down it may compromise the retention performance of some clips/fixing types. Any clip/fixing that is used in an area subject to dynamic movement or high vibration whose retention features were damaged by removal during strip down must be replaced.

The majority of clips/fixings are listed in the following table.

Push old or damaged fixing out of the way (turning it around the harness if necessary) and put on new fixing. Inspect fixing positioning to make sure that the harness is not close to anything hot, sharp or dynamic.

JLR Part NumberManufacturerManufacturer Part NumberComments
KHC2-13A506-DAHellerman-Tyton157-00228Tie Wrap
KHC2-13A506-AAHellerman-Tyton142-294Tie Wrap
JHC2-13A506-MAA Raymond206756000Tie Wrap
KHC2-13A506-FAITW31214814Tie Wrap
JHC2-14A282-AAHellerman-Tyton157-00014Tie Wrap
KHC2-13A506-EAA Raymond225997Tie Wrap
JHC2-13A506-SAA Raymond230347Tie Wrap
KHC2-14197-AAA Raymond215148Tape on
JHC2-14197-RAA Raymond209423Tape on
JHC2-14197-YAITW1750006750Tape on
JHC2-14197-JAHellerman-Tyton155-11601Tape on
KHC2-14197-DAA Raymond201340Tape on
JHC2-14197-HAA Raymond201336Tape on
KHC2-14197-FAHellerman-Tyton151-00650Tape on
JHC2-14197-ABBA Raymond201878Tape on
JHC2-14197-ABCA Raymond019998000Tape on
KHC2-14197-CAA Raymond248112-2Tape on
KHC2-14197-EAA Raymond215150Tape on
KHC2-14197-GAHellerman-Tyton151-01117Tape on
JHC2-13A506-ABAA Raymond208738Tie Wrap
JHC2-14197-ABGA Raymond224250Used with JHC2-13A506-ABA
KHC2-13A506-BAHellerman-Tyton150-40591Tie Wrap
KHC2-14A169-AAITW09760.00Stud Fixing
KHC2-14A169-BAA Raymond214658Stud Fixing
JHC2-13A506-T AA Raymond202587Stud Fixing/Tie Wrap
JHC2-14197-ABHA Raymond201337Tape on
KHC2-14A169-DAA Raymond253723Stud Fixing
KHC2-14197-BAA Raymond233291Tape on
KHC2-14A282-AAHellerman-Tyton155-30702Anti Rotation
KHC2-14A282-BAITW30413438Anti Rotation
JHC2-14A163-N AA Raymond235920C Clip
JHC2-14A163-LAA Raymond235922C Clip
JHC2-14A163-MAA Raymond235923C Clip
KHC2-13A506-GAITW31811311ATie Wrap
JHC2-13A506-VAHellerman-Tyton156-01425Tie Wrap
JHCT-14A163-HAA Raymond249154C Clip
KHC2-13A506-CAHellerman-Tyton156-00329Tie Wrap

The following applies to 48V MHEV and HV applications.

All HV fixings are classified as ‘critical’ for the vehicle assembly process. Threaded fixings must be reassembled using the specified torque (published in the Work Shop Manual/Topix). For all HV fixings, wherever possible the damaged part is to be displaced/pushed out of the way. The damaged part must be left in place and the new part installed alongside in the exact location of the old/previous fixing. Where the fixing must be removed to facilitate replacement then extreme care must be used to prevent risk of damage to the cables and coverings

4. WIRING HARNESS REPAIR

4.1 APPROVED ELECTRICAL WIRING HARNESS REPAIR METHODS

CAUTION:

Several different types and sizes of terminal may be found in a single electrical connector housing.

It is necessary to identify:

  • The conductor (wire) size of the affected wiring harness
  • The electrical connector range from which the damaged wiring harness is to be removed
  • The electrical terminal type

Use of the JLR approved diagnostic equipment will greatly assist in the quick identification of electrical connectors and damaged pin terminal(s).

Reference can also be made to the ERL and Interactive Electrical Wiring Diagrams (iEWD) available through TOPIx, to identify wiring harness(s) and electrical connector(s).

Use the Electrical Wiring Harness Repair Relationship Table to identify the correct splice connector to suit the wiring harness conductor (wire) size. This will relate to a suitable pre-terminated lead by the color of the insulation. The table also identifies the correct length of insulation to be stripped from the wiring harness lead.

Electrical Wiring Harness Repair Relationship Table

CABLE SIZE RANGE SPLICE CONNECTORSTRIP LENGTH
0.35 to 1.50 mm² (0.00054 to 0.0023 inch²)RED6.00 to 7.00 mm (0.23 to 0.27 inch)
1.00 to 2.50 mm² (0.0016 to 0.0039 inch²)BLUE6.00 to 7.00 mm (0.23 to 0.27 inch)
4.00 to 6.00 mm² (0.0062 to 0.0093 inch²) YELLOW9.00 to 9.50 mm (0.35 to 0.37 inch)
Electrical Connector Terminal Extraction

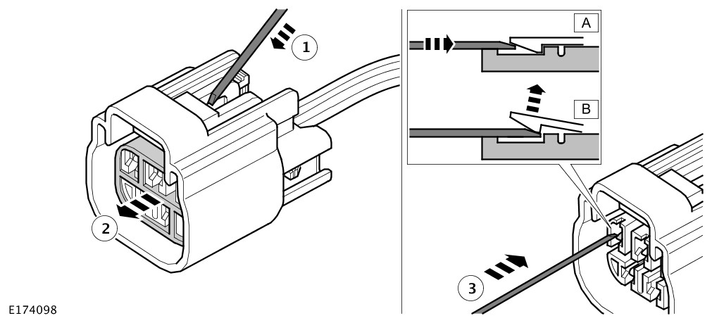
It must be noted that some electrical connector(s) have anti-backout devices which prevent the terminals from being removed from the electrical connector. Some examples of these are shown in following illustrations. The anti-backout device must be released before attempting to remove the terminal from the electrical connector. Some anti-backout devices require a special tip to release the device. Please refer to the ERL for the correct tool(s) to use (where applicable).

Various types of electrical connector have seals installed internally or externally to prevent moisture ingress. These normally do not have to be removed but make sure that they are installed when the electrical connectors are connected.

CAUTION:

Inspect the electrical connector housing for evidence of damage. The damage may affect the security of a terminal inside the connector housing. The damage may affect the operation of the anti-backout device. The damage may affect the secure installation of the connector housing to the intended component/connector housing. Replace a damaged electrical connector housing.

The illustrations show examples of some of the common styles of extraction tools used on different types of electrical connector(s). Care should be exercised to avoid further damage when removing the terminals from the electrical connector.

NOTE:

Examples of the extraction tools and anti-backout devices.

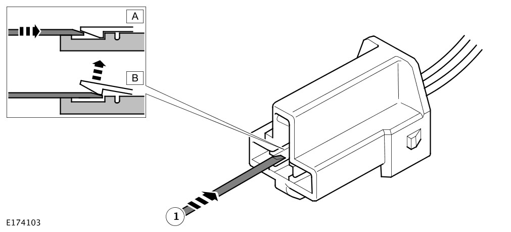
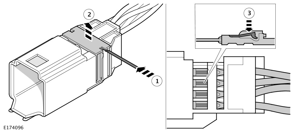
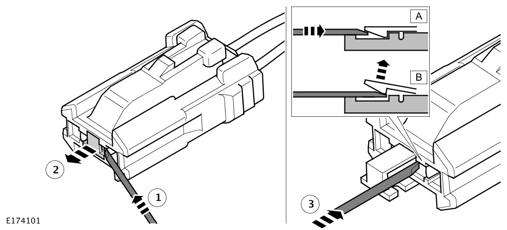
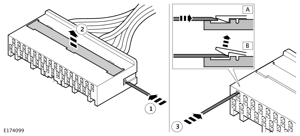
A
E174096
B
E174097
C
E174098
D - 1
E174099
D - 2
E174100
E
E174101
F
E174102
G
E174103
H
E174104
I
E174105
J
E174106
K
E174655
L
E174656
M
E174657
N
E174658

4.2 Types of Electrical Wiring Harness Splice Repairs

Splice connectors are available in 3 sizes; refer to Pre-Terminated Lead and Splice Connectors in the Electrical Wiring Harness Repair Components section.

A splice connector can be used in a number of ways to achieve an effective and robust wiring harness repair.

NOTE:

For all repairs the wire being repaired must not be under any strain when the circuit is connected to the intended component or connector housing etc. If the wire is too short when the damage has been removed, it must be returned to the appropriate length. This requires inserting an extension wire into the center of the splice repair; refer to Double Splice Extension Repair.

The following information will show and explain the variations of splice joints achievable; these are:

  • A 1 Wire Splice Repair
  • A 2 Wire Splice Repair
  • Pulled Out Wire Splice Repair
  • Damaged Splice Repair
  • Double Splice Extension Repair
  • Splice Repair to Wire Smaller than 0.35 mm² (0.00054 inch²)
A 1 Wire Splice Repair

If a wire has damage isolated to the wire only without any further damage to the terminal or connecter, the damaged portion of wire can be removed. Remove the damaged part of the wire by cutting each side of the damaged area and reconnected using the appropriate splice connector.

A 1 Wire Splice Repair Example
E177956
  1. Original Wire
  2. Original Wire
  3. Splice Connector
  4. Glue Lined Heat Shrink Sleeve
A 2 Wire Splice Repair

To repair wiring harnesses with damaged eyelets, use a splice connector with a suitable pre-terminated lead with the appropriate eyelet and wire size. See table below for more information.

Eyelet Hole SizeInterlocking PairWire Size
Less than 5 mm (0.2 inch) diameterNot Applicable418781
Greater than 5 mm (0.2 inch) diameterYesSmall 418778
Greater than 5 mm (0.2 inch) diameterYesMedium 418779
Greater than 5 mm (0.2 inch) diameterYesLarge 418780
Greater than 5 mm (0.2 inch) diameterNoLarge Pair 418783 and 418785
Greater than 5 mm (0.2 inch) diameterNoSmall Pair 418782 and 418784
NOTES:
  • If the damaged eyelet is from an interlocking pair, it is recommended to replace both eyelets.

  • If any harness(s) with large multi wire ground eyelets give cause for concern, new components must be installed.

If the wiring harness has a damaged eyelet with 2 wires to the eyelet, it is recommended to use a suitable pre-terminated lead. The lead should have a cross sectional area equal to or greater than that of the 2 wires combined to complete the repair.

A 2 Wire Splice Repair Example
E177957
  1. Pre-terminated Lead
  2. Original Wire
  3. Original Wire
  4. Splice Connector
  5. Glue Lined Heat Shrink Sleeve
Pulled Out Wire Splice Repair

If a wire has become disconnected from its splice, it can be repaired by splicing the disconnected wire to 1 of the wires still part of the original splice.

Cut the undamaged wire of the original splice and with a suitable splice connector, clamp the splice side of the wire. Install a suitable section of glue lined heat shrink sleeve to the splice the wire had disconnected from. Insert the disconnected wire and the undamaged wire into the splice connector and clamp the splice connector.

Pulled Out Wire Splice Repair Example
E177958
  1. Original Splice
  2. Glue Lined Heat Shrink Sleeve
  3. Original Undamaged Wire
  4. Pulled Out Wire
  5. Original Undamaged Wire
  6. Splice Connector
  7. Glue Lined Heat Shrink Sleeve
Damaged Splice Repair

If a wiring harness has splice which has been damaged, the splice must be removed and replaced.

Remove the damaged splice by cutting it from the wiring harness, making sure to leave as much undamaged wire as possible on the wiring harness. Using 1 or more suitable splice connectors make a new splice.

Damaged Splice Repair Example
E177959
  1. Original Wire
  2. Original Wire
  3. Original Wire
  4. Original Wire
  5. Splice Connector
  6. Glue Lined Heat Shrink Sleeve
Double Splice Extension Repair

If the wire(s) being repaired are too short when the damage area of wire has been removed the following is recommended. Use 2 splice connectors and an appropriate length of wire with colored cable identification sleeves to return the wire its original length.

The extension wire must have the same or greater cross sectional area as the wire(s) combinations entering the splice connectors. Example: 2 wires x 0.5 mm² (0.00077 inch²) cross sectional area + 2 wires x 0.75 mm² (0.0012 inch²) cross sectional area would require a wire of 2.5 mm² (0.0039 inch²) cross sectional area or greater.

Double Splice Extension Repair Example
E177960
  1. Original Wire(s)
  2. Original Wire(s)
  3. Extension Wire
  4. Splice Connector
  5. Glue Lined Heat Shrink Sleeve
  6. Splice Connector
  7. Glue Lined Heat Shrink Sleeve
Splice Repair to Wire Smaller than 0.35 mm² (0.00054 inch²)

To repair a damaged wire with a cross sectional area smaller than 0.35 mm² (0.00054 inch²) do the following. Use the smallest approved splice connector (red) and insert an additional wire with the wire being repaired into each side of the slice connector.

For each splice repair to a wire smaller than 0.35 mm² (0.00054 inch²), an additional piece of wire (0.35 mm² (0.00054 inch²) or 0.5 mm² (0.00078 inch²)) must be used. The additional piece of wire must be inserted into the splice connector with the wire being repaired. to make the joint secure when crimped. When the wires have been crimped into the splice connector, all additional wire(s) must be cut close to the splice connector. This is to make sure the additional wire is fully covered when the glue lined heat shrink sleeve is in position over the splice connector.

Splice Repair to Wire Smaller than 0.35 mm² (0.00054 inch²) Example
E177961
  1. Original Wire (less than 0.35 mm² (0.00054 inch²))
  2. Additional wire (0.35 mm² (0.00054 inch²) or 0.5 mm² (0.00078 inch²))
  3. Pre-terminated Lead or replacement wire (less than 0.35 mm² (0.00054 inch²))
  4. Additional wire (0.35 mm² (0.00054 inch²) or 0.5 mm² (0.00078 inch²))
  5. Splice Connector
  6. Glue Lined Heat Shrink Sleeve

Repairs to twisted wires

See the individual repair procedure for twisted wire harnesses.

4.3 Wiring Harness Repair Procedure

Before starting any repair of a damaged wire, the damaged wire must be inspected along its length where possible to evaluate the full extent of the damage. If the damage is in a localized area the wire repair is recommended, if the damage is extensive, a replacement harness should be considered. A wire being repaired must be cut at a point where there is no damage to the wire or insulation.

NOTES:
  • If the wire repair requires the use of a pre-terminated lead, the wire must not be cut more than 300 mm (11.8 inch) from a connector housing.

  • A repaired wire must not be under any strain when connected to its intended component/connector housing.

Where there is a need to repair more than 1 wire in a harness branch, the splices must be staggered. This will minimize the effect of increasing the diameter of the harness branch. The recommended spacing is 50 mm (2.0 inch) between centers for yellow splices and 40 mm (1.57 inch²) between centers for red or blue splices.

CAUTIONS:
  • Do not use:

    • crimpers
    • insulation (wire) strippers
    • splice connectors
    • heat shrink sleeves
    • pre-terminated leads or wiring harness(s)
  • That are not authorized and supplied through the JLR parts ordering system

  • Where the repair procedure indicates that a glue lined heat shrink sleeve should be applied, apply sufficient heat to the glue lined heat shrink sleeve. This will melt the glue in order to provide a water tight seal. Do not over heat the glue lined heat shrink sleeve so that the wiring harness insulation becomes damaged.

There is no specific limit on the number of splices that can be used in a harness branch. The responsible technician must judge the number of splices that can be installed along the available length of harness and within the space in which the harness is located.

Consideration must be given to any need to bend the harness and the risks of the repaired harness rubbing, squeaking or rattling against adjacent parts, body panels or trim.

Wiring Harness Repair Process

  1. Remove the damaged terminal from the electrical connector using the correct extraction tool. Make sure that any anti-backout device is released before trying to remove the terminal.
  2. CAUTION:

    A number of electrical connector terminals are gold plated or gold flashed. When damaged, they must be installed with a gold pre-terminated wiring harness(s). It is not always easy to identify the female as gold but the male pins are visually easier. Therefore always inspect both male and female terminals to identify those which are gold. Under no circumstances are gold and tin terminals to be mixed as this will lead to early failure of the electrical contact.

    NOTE:

    Never use a harness lead with a smaller diameter than the original harness lead.

    Select the correct size and type of pre-terminated wiring lead and splice connector; refer to Wire Chart and Service Repair Information.
  3. Using the wire cutter on the insulation (wire) stripper, cut the pre-terminated wiring harness and the harness cable to the required length.
  4. NOTE:

    See illustration: Stripping Insulation

    From the Electrical Wiring Harness Repair Relationship Table, find the correct length of insulation to be stripped from the pre-terminated lead. Set the adjustable cable length stop to the correct length. Place the pre-terminated lead in the insulation (wire) stripper and remove the insulation.
  5. Put the cable identification sleeve(s) on to the wiring harness with the main cable color nearest to the terminal.
  6. During this next step take care only to close the crimpers far enough to hold the splice connector firmly in position. Place the selected splice connector in the crimpers, matching the aperture and the splice connector colors. Make sure that the window indentation in the splice connector is resting over the guide bar on the lower jaw. Partially close the grip until the splice connector is securely held in the aperture. This will give support to the splice connector while the wiring harness(s) are inserted into it.
  7. NOTE:

    See illustration: Splice Correctly Located

    Insert the pre-terminated lead into the splice connector and make sure that the wire is against the wire stop. Close the grip firmly, crimping the pre-terminated lead to the splice connector. When the handles have been completely closed the splice connector will be freed from the tool as the handles are released. If the handles have not been completely closed then the jaws will hold the splice connector and it cannot be removed from the tool.
  8. Make sure that the wiring harness cable has been squarely cut and the correct length of insulation removed. If more than 1 splice is needed the splice connectors must be not be crimped to the wiring harness at the same distance from the connector. The splices must be staggered to prevent a bulk of splices in the same area of the wiring harness.
  9. It is preferable to cover the splice joint with a glue lined heat shrink sleeve. This is desirable not essential, except where the electrical connector is a sealed electrical connector. Use the smaller diameter glue lined heat shrink sleeve for red and blue pre-terminated lead(s). Use the large diameter glue lined heat shrink sleeve for the yellow pre-terminated lead(s). It is advisable to place the heat shrink sleeve over the completed joint but in some instances the glue lined heat shrink sleeve will not pass over the terminal. Inspect, and if required, place the correct size glue lined heat shrink sleeve onto the harness cable or pre-terminated lead before crimping the splice to the wiring harness.
  10. Place the harness cable into the splice with the splice window over the guide bar. Make sure that the harness cable is against the stop in the splice, crimp the splice connector to the wiring harness.
  11. Gently pull the harness cables each side of the splice connector to make sure that a secure joint has been made.
  12. WARNING:

    Do not use a naked flame in areas where fuel or oil have been spilt. Clean the area of residual oil and fuel and wait until the fuel spill has fully evaporated.

    CAUTIONS:
    • When using a heat source make sure that it is localized and causes no damage to surrounding materials.

    • Where the repair procedure indicates that a glue lined heat shrink sleeve should be applied, apply sufficient heat to the glue lined heat shrink sleeve. This will melt the glue in order to provide a water tight seal. Do not over heat the glue lined heat shrink sleeve so that the wiring harness insulation becomes damaged.

    Using a suitable heat source, shrink the sleeve over the splice.
  13. If further pre-terminated lead(s) are to be installed to the same electrical connector, make sure that the lead is cut at a different length to the previous joint. This makes sure that the splices will, where possible, be staggered on the wiring harness and prevent a bulk of splices in 1 area.
  14. When all of the splices have been made, install the terminal(s) to the electrical connector, taking care that the terminals are correctly oriented.
  15. Install the wiring harness cover and secure with adhesive electrical tape. Do not cover the wiring harness right to the electrical connector. The terminals must have a little movement and not be firmly bound to the electrical connector or wiring harness. Make sure that the cable identification sleeve(s) are showing at the wiring harness electrical connector.
Stripping Insulation
E178847
Splice Correctly Located
E178868

4.4 Electrical Wiring Harness Repair Components

The electrical wiring harness repair components comprises of:

  • Pre-terminated leads of different sizes and types
  • Splice connectors in 3 sizes
  • A selection of colored cable identification sleeves
  • Glue lined heat shrink sleeves in 2 sizes.
NOTE:

A suitable heat source, for shrinking the glue lined heat shrink sleeves will be required.

The pre-insulated diamond grip range of electrical connector terminals and in-line splice connectors are the only acceptable product for the repairs of wiring harnesses. The splice connectors not only grip the wire but also the insulation, making a very secure joint.

Pre-Terminated Lead and Splice Connectors

The pre-terminated lead(s) are supplied with the insulation in 1 of 3 colors, red, blue or yellow. The colors indicate the cable size range and not any particular circuit; refer to the Electrical Wiring Harness Repair Relationship Table in the Section 4.1.

Splice connectors are also supplied with red, blue or yellow coverings, which must be matched to the pre-terminated lead insulation color.

For ease and speed, some of the pre-terminated lead(s) may already have the insulation partly stripped at the splice end. If the repair requires insulation to be stripped from the cable, refer to the Electrical Wiring Harness Repair Relationship Table in the Repair Methods section. The correct length of insulation to be stripped will be detailed in the table.

Wire Chart and Service Repair Information

This information is part of the relevant ERL or Interactive Electrical Wiring Diagrams (iEWD) available through TOPIx.

NOTE:

Access to information about the pre-terminated leads for vehicles supported by the iEWD is achieved by hovering the screen pointer over the relevant connector number and left-clicking.

When the relevant connector housing has been identified, refer to the associated Wire Chart and Service Repair Information. This is to make sure the installation of pre-terminated leads or wiring harnesses are completed in the approved manner.

  • Identify the connector cavity in which the terminal needs replacing
  • Make a note of the cross sectional area of the associated wire
  • Make a note of the part number of the appropriate pre-terminated lead
  • Make a note of the correct terminal extraction tool (where applicable)

Before commencing a wiring harness repair, always make sure the correct pre-terminated leads and associated repair parts have been ordered using the JLR parts ordering system.

Some of the pre-terminated leads have seals installed to the insulation for sealed connector applications. Where, as part of a repair, sealed terminals are removed, it is essential that those terminals are replaced by sealed pre-terminated leads.

Wire chart and service repair information also includes:

  • The destination of the cable
  • The applicable tools and associated other parts necessary to make sure the pre-terminated lead is correctly installed in the approved manner
CAUTIONS:
  • Where the repair procedure indicates that a glue lined heat shrink sleeve should be applied, apply sufficient heat to the glue lined heat shrink sleeve. This will melt the glue and provide a water tight seal. Do not over heat the glue lined heat shrink sleeve so that the wiring harness insulation becomes damaged.

  • Do not use any heat shrink sleeve other than the approved glue lined heat shrink sleeve specified in the repair procedure.

Glue Lined Heat Shrink Sleeving

There are 2 sizes of glue lined heat shrink sleeving available. Each heat shrink sleeve contains a sealant glue. These must be used when connecting wiring harness(s) or electrical connector terminal(s) at all times. The smaller diameter glue lined heat shrink sleeve is to be used with the red and blue splice connectors. The larger diameter glue lined heat shrink sleeve is to be used with the yellow splice connectors.

Wiring Harness Cable Identification Sleeves

A selection of colored sleeves are available for maintaining the wiring harness cable identification on the pre-terminated lead.

The sleeve identification packs are available to suit the 3 cable size ranges of Red, Blue and Yellow. Each sleeve identification pack contains 50 of each of the following colored sleeves:

  • Black
  • Brown
  • Red
  • Orange
  • Yellow
  • Green
  • Blue
  • Violet
  • Gray
  • White

Place the correct colored sleeve(s) over the pre-terminated lead insulation as near to the electrical connector as possible. The main wiring harness cable color should be nearest to the electrical connector.

For example: if the original wiring harness cable color is green with a black trace:

  1. Put the green wiring harness cable identification sleeve on the pre-terminated lead first
  1. Put the black wiring harness cable identification sleeve on the pre-terminated lead second
  1. Slide both sleeves along the wiring harness cable to the electrical connector terminal.

Wiring Harness Repair Parts

NOTE:

Repair components can be ordered through the JLR parts ordering system.

DescriptionPart NumberQuantity
Glue Lined Heat Shrink Sleeve Pack – small diameter418-10425 per pack
Glue Lined Heat Shrink Sleeve Pack – larger diameter418-10510 per pack
Case Assembly Comprising – carry case, lid, inner lid, base, insert, trays foam spacers418-1061
Splice Connector – Red418-10750 per pack
Splice Connector – Blue418-10850 per pack
Splice Connector – Yellow418-10920 per pack
Sleeve Identification Pack – for Red insulation418-112500
Sleeve Identification Pack – for Blue insulation418-113500
Sleeve Identification Pack – for Yellow insulation418-114500

4.5 Wiring Harnesses

CAUTION:

Disconnect the battery before commencing the repair of any wiring harness.

The repair is only appropriate where the damage is localised and is not over the full length of the wiring harness. If the damage is end to end then replacing the whole harness should be considered where appropriate. The damaged section of wiring harness must be removed by cutting either side of the damage at a point where the wiring harness retains its original condition. The number of twists in a twisted pair of wires is important to the functionality of the circuit and as such must be maintained. Note the number of twist over the repair length prior to commencing the repair. The same number of twists must reintroduced after completing the repair.

If repairing multiple wires within a harness, stagger the connecting splices and twist the wire between the connecting splice locations. This will minimize the untwisted length and the effect of increasing the diameter of the harness. On no account must the untwisted length exceed 50 mm (2.0 inch) each side of the connecting splice. When each connecting splice repair is completed, cover the splice with a black glue lined heat shrink sleeve. Use an approved hot air applicator to shrink the sleeve until the glue is visible at both ends. Make sure that connecting splice repairs are not located in any dynamic movement area of a harness.

When all wiring harness repairs are complete, the wiring harness must be wrapped in insulating tape and returned as close as possible to new vehicle condition. Make sure the wiring harness follows the original routing and all clips and connectors are secured.

CAUTION:

Under no circumstances should repair be attempted to the following:

  • Link lead assembles, which are unique to safety critical circuits such as ABS and thermocouple circuits. An example of this is the ABS wheel speed sensors with moulded connectors.
  • Throttle Control circuits.
  • Speed Control circuits.
  • Screened cables, leads and wiring harness(s).

If any harness(s) with damaged electrical connector terminals or cables from the above circuits give cause for concern, new components must be installed.

CAUTIONS:
  • Do not attempt to repair or reform a damaged electrical connector terminal. A damaged electrical connector terminal must be replaced using the correct pre-terminated lead.

  • A ground point connector with multiple wires to the connector must not be repaired as a complete connector. If a damaged wire is identified, the wire can be repaired individually using the correct pre-terminated lead.

  • Do not attempt the repair of damaged battery, hybrid and power cables.

    These types of cable generally have a cross sectional area larger than 6 mm² (0.009 inch²) and must only be replaced. If the original cable is contained within the harness bundle the original cable must be left in the harness. Attach the replacement cable to the harness along the original harness route.

    The replacement cable must follow the original cable route to avoid the risk of introducing electrical interference issues. The original cable connections must be cut from the cable at both ends and discarded. The exposed cable ends must be free from sharp edges and strands of wire. The exposed cable must be over taped to prevent injury before being taped back to the main harness.

If any harness(s) with damaged electrical connector terminals or cables from the above circuits give cause for concern, new components must be installed.

4.5.1 Electrical Wiring Harness Repair Components

The electrical wiring harness repair components comprises of:

  • Pre-terminated leads of different sizes and types
  • Splice connectors in 3 sizes
  • A selection of colored cable identification sleeves
  • Glue lined heat shrink sleeves in 2 sizes.
NOTE:

A suitable heat source, for shrinking the glue lined heat shrink sleeves will be required.

The pre-insulated diamond grip range of electrical connector terminals and in-line splice connectors are the only acceptable product for the repairs of wiring harnesses. The splice connectors not only grip the wire but also the insulation, making a very secure joint.

Pre-Terminated Lead and Splice Connectors

The pre-terminated lead(s) are supplied with the insulation in 1 of 3 colors, red, blue or yellow. The colors indicate the cable size range and not any particular circuit; refer to the Electrical Wiring Harness Repair Relationship Table in the Repair Methods section.

Splice connectors are also supplied with red, blue or yellow coverings, which must be matched to the pre-terminated lead insulation color.

For ease and speed, some of the pre-terminated lead(s) may already have the insulation partly stripped at the splice end. If the repair requires insulation to be stripped from the cable, refer to the Electrical Wiring Harness Repair Relationship Table in the Repair Methods section. The correct length of insulation to be stripped will be detailed in the table.

Wire Chart and Service Repair Information

This information is part of the relevant Electrical Reference Library (ERL) or Interactive Electrical Wiring Diagrams (iEWD) available through TOPIx.

NOTE:

Access to information about the pre-terminated leads for vehicles supported by the iEWD is achieved by hovering the screen pointer over the relevant connector number and left-clicking.

When the relevant connector housing has been identified, refer to the associated Wire Chart and Service Repair Information. This is to make sure the installation of pre-terminated leads or wiring harnesses are completed in the approved manner.

  • Identify the connector cavity in which the terminal needs replacing
  • Make a note of the cross sectional area of the associated wire
  • Make a note of the part number of the appropriate pre-terminated lead
  • Make a note of the correct terminal extraction tool (where applicable)

Before commencing a wiring harness repair, always make sure the correct pre-terminated leads and associated repair parts have been ordered using the JLR parts ordering system.

Some of the pre-terminated leads have seals installed to the insulation for sealed connector applications. Where, as part of a repair, sealed terminals are removed, it is essential that those terminals are replaced by sealed pre-terminated leads.

Wire chart and service repair information also includes:

  • The destination of the cable
  • The applicable tools and associated other parts necessary to make sure the pre-terminated lead is correctly installed in the approved manner
CAUTIONS:
  • Where the repair procedure indicates that a glue lined heat shrink sleeve should be applied, apply sufficient heat to the glue lined heat shrink sleeve. This will melt the glue and provide a water tight seal. Do not over heat the glue lined heat shrink sleeve so that the wiring harness insulation becomes damaged.

  • Do not use any heat shrink sleeve other than the approved glue lined heat shrink sleeve specified in the repair procedure.

Glue Lined Heat Shrink Sleeving

There are 2 sizes of glue lined heat shrink sleeving available. Each heat shrink sleeve contains a sealant glue. These must be used when connecting wiring harness(s) or electrical connector terminal(s) at all times. The smaller diameter glue lined heat shrink sleeve is to be used with the red and blue splice connectors. The larger diameter glue lined heat shrink sleeve is to be used with the yellow splice connectors.

Wiring Harness Cable Identification Sleeves

A selection of colored sleeves are available for maintaining the wiring harness cable identification on the pre-terminated lead.

The sleeve identification packs are available to suit the 3 cable size ranges of Red, Blue and Yellow. Each sleeve identification pack contains 50 of each of the following colored sleeves:

  • Black
  • Brown
  • Red
  • Orange
  • Yellow
  • Green
  • Blue
  • Violet
  • Gray
  • White

Place the correct colored sleeve(s) over the pre-terminated lead insulation as near to the electrical connector as possible. The main wiring harness cable color should be nearest to the electrical connector.

For example: if the original wiring harness cable color is green with a black trace:

  1. Put the green wiring harness cable identification sleeve on the pre-terminated lead first
  1. Put the black wiring harness cable identification sleeve on the pre-terminated lead second
  1. Slide both sleeves along the wiring harness cable to the electrical connector terminal.

Wiring Harness Repair Parts

NOTE:

Repair components can be ordered through the JLR parts ordering system.

DescriptionPart NumberQuantity
Glue Lined Heat Shrink Sleeve Pack – small diameter418-10425 per pack
Glue Lined Heat Shrink Sleeve Pack – larger diameter418-10510 per pack
Case Assembly Comprising – carry case, lid, inner lid, base, insert, trays foam spacers418-1061
Splice Connector – Red418-10750 per pack
Splice Connector – Blue418-10850 per pack
Splice Connector – Yellow418-10920 per pack
Sleeve Identification Pack – for Red insulation418-112500
Sleeve Identification Pack – for Blue insulation418-113500
Sleeve Identification Pack – for Yellow insulation418-114500

4.5.2 Wiring Harness Repair Tools

NOTE:

Replacement repair equipment can be ordered from the equipment workshop website; refer to the Replacement Repair Equipment in the Introduction section.

The wiring harness repair tools comprises of:

  • A selection of extraction tools
  • A wire cutter and insulation stripper
  • Crimpers
Extraction Tools

The extraction tools are used to remove a terminal from an electrical connector. Refer to the Wire Chart and Service Repair Information for the correct extraction tool for each terminal (where applicable). Each extraction tool has been specially designed to extract a particular type of electrical connector terminal. The use of any other tool is not recommended and is liable to cause damage to the electrical connector.

CAUTION:

Inspect the electrical connector housing for evidence of damage. The damage may affect the security of a terminal inside the connector housing. The damage may affect the operation of the anti-backout device. The damage may affect the secure installation of the connector housing to the intended component/connector housing. Replace a damaged electrical connector housing.

Insulation (Wire) Stripper

By pressing the outer edges of the wiring harness cable length stop together the adjuster can be slid up or down the jaw. This decreases or increases the length by which the cable insulation will be stripped from the pre-terminated lead or wiring harness cable.

NOTE:

Some wiring harness insulation may be harder and require more effort to make a clean strip but exercise care not to damage the wire.

Insulation (Wire) Stripper
E178846

The adjuster has a position indicator to align with a graduated scale and this sets the correct length in millimeters, of insulation to be stripped. The amount of insulation to be stripped is shown in the Electrical Wiring Harness Repair Relationship Table.

The following illustration shows the insulation stripper tool and a wiring harness correctly gripped in the jaws. A wire cutter is provided on the outer side of the fixed jaw.

Cable Correctly Gripped in Stripper Blades
E178865
Crimpers

The crimpers have a moving jaw and a stationary jaw, with 3 different sized crimping enclosures. Each of the enclosures are identified by a red, blue or yellow colored dot which corresponds to the 3 colors of the pre-terminated leads and splice connector.

Crimpers
E178866
NOTE:

Replacement repair equipment can be ordered from the equipment workshop website; refer to the Replacement Repair Equipment in the Introduction section.

DescriptionPart NumberQuantity
Crimpers418-116A1
Wire Stripper418-6721